Запчасти Case 21D (02.021[002]) - REAR AXLE MOUNTING PARTS (S/N 561101-UP) No Description

Схема запчастей Case 21D - (02.021[002]) - REAR AXLE MOUNTING PARTS (S/N 561101-UP) No Description
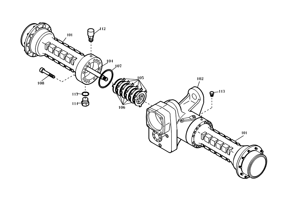
105
102
108
115
113
106
112
101
101
107
114
104
FIT
1:1
100%

Артикул

Название

Примечание

Количество

1

420329A1

AXLE

1шт.

101

NS

NOT SERVICED

SEE FIGURE 02.230/002

2шт.

102

NS

NOT SERVICED

SEE FIGURE 02.022/003

1шт.

104

420372A1

HALF SHAFT

2шт.

105

420373A1

DISC

10шт.

106

420374A1

DISC

8шт.

107

420323A1

O-RING

2шт.

108

826-12160

BOLT,Hex, M12 x 1.75 x 160mm, Cl 10.9

32шт.

109

420325A1

PLUG

1шт.

112

420326A1

BLEEDER

1шт.

113

933679R1

PLUG,Hex Soc, M10 x 1, Pipe

1шт.

114

934221R1

PLUG,Hex Soc, M30 x 1.5

2шт.

115

3052681R1

SEALING RING,M30 x 36 x 2

2шт.

Выбрано товаров: 13