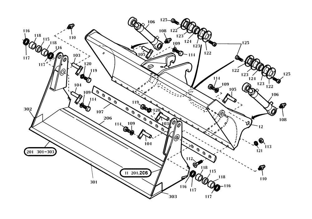
Запчасти Case 21D (64.012[001]) - 4 - IN - 1 BUCKET 650 L (OPTION) (S/N 564401-UP) No Description

Схема запчастей Case 21D - (64.012[001]) - 4 - IN - 1 BUCKET 650 L (OPTION) (S/N 564401-UP) No Description
114
201
118
116
122
114
116
301
119
125
201
105
117
125
110
206
109
120
113
122
110
123
108
124
107
302
119
103
120
104
116
104
118
109
114
114
116
106
125
124
117
12
108
112
109
115
122
123
117
123
118
109
117
122
115
123
11
105
301-303
103
303
118
121
106
FIT
1:1
100%

Артикул

Название

Примечание

Количество

1

421471A1

BUCKET

1шт.

11

421472A1

FLAP

1шт.

12

421473A1

WALL

1шт.

103

421474A1

PIN

2шт.

104

421475A1

PIN

2шт.

105

421477A1

PIN

2шт.

106

NS

NOT SERVICED

SEE FIGURE 24.062/001

2шт.

107

421495A1

CUTTING EDGE

1шт.

108

420268A1

LUBE NIPPLE

2шт.

109

420197A1

WASHER

4шт.

110

933781R1

LUBE NIPPLE,M10 x 1

2шт.

112

421496A1

SCREW

14шт.

113

100016

NUT,M10 x 1.5, Cl 8

14шт.

114

614-10016

BOLT,Hex, M10 x 1.5 x 16mm, Cl 8.8, Full Thd

4шт.

115

421498A1

SLEEVE

2шт.

116

421499A1

RING

4шт.

117

420924A1

RING

4шт.

118

421500A1

BUSHING

4шт.

119

614-12020

BOLT,Hex, M12 x 1.75 x 20mm, Cl 8.8, Full Thd

2шт.

120

424322A1

LOCK WASHER

2шт.

121

892-11010

LOCK WASHER,M10

14шт.

122

421313A1

LID

4шт.

123

421317A1

WASHER

4шт.

124

420883A1

BALL BEARING

2шт.

125

421314A1

SCREW

12шт.

201

421501A1

CUTTING EDGE

1шт.

206

421502A1

CUTTING EDGE

1шт.

301

421503A1

CUTTING EDGE

1шт.

302

421504A1

CUTTING EDGE

1шт.

303

421505A1

CUTTING EDGE

1шт.

Выбрано товаров: 30