Качественные детали и логистика
Оригинальные и аналоговые запчасти с доставкой по России, Казахстану и Беларуси
©2022 PartSell ООО "Система" ИНН 2463123282 ОГРН 1212400004838
Центральный офис: г. Красноярск, Академика Киренского, д.87, пом.4
Телефон: 8 (800) 777-65-74 Email: zakaz@partsell.ru
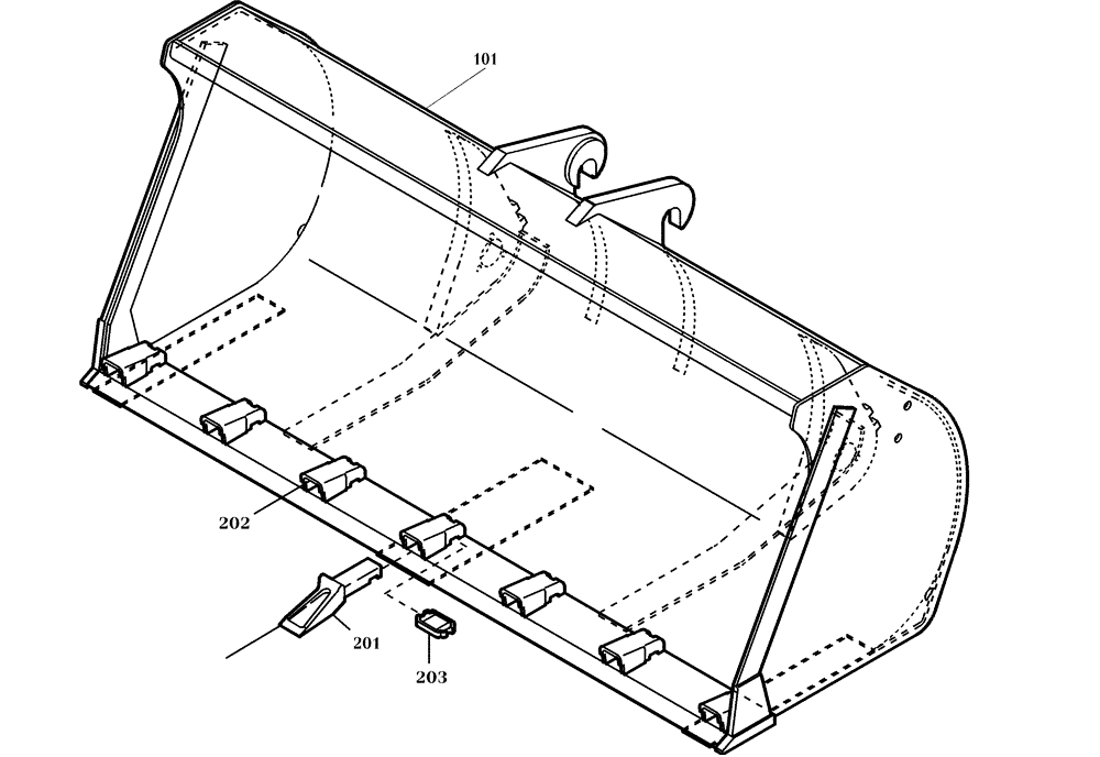
(64.202[002]) - LOADING BUCKET 700 L (S/N 561101-UP)
№
Артикул
Название
Примечание
Количество
1
421294A1
BUCKET
1шт.
101
421299A1
SEE FIGURE 64.202/001
102
421295A1
BUCKET TOOTH
201
421296A1
TOOTH
6шт.
202
421297A1
SLEEVE
203
421298A1
KEY
Выбрано товаров: 0