Качественные детали и логистика
Оригинальные и аналоговые запчасти с доставкой по России, Казахстану и Беларуси
©2022 PartSell ООО "Система" ИНН 2463123282 ОГРН 1212400004838
Центральный офис: г. Красноярск, Академика Киренского, д.87, пом.4
Телефон: 8 (800) 777-65-74 Email: zakaz@partsell.ru
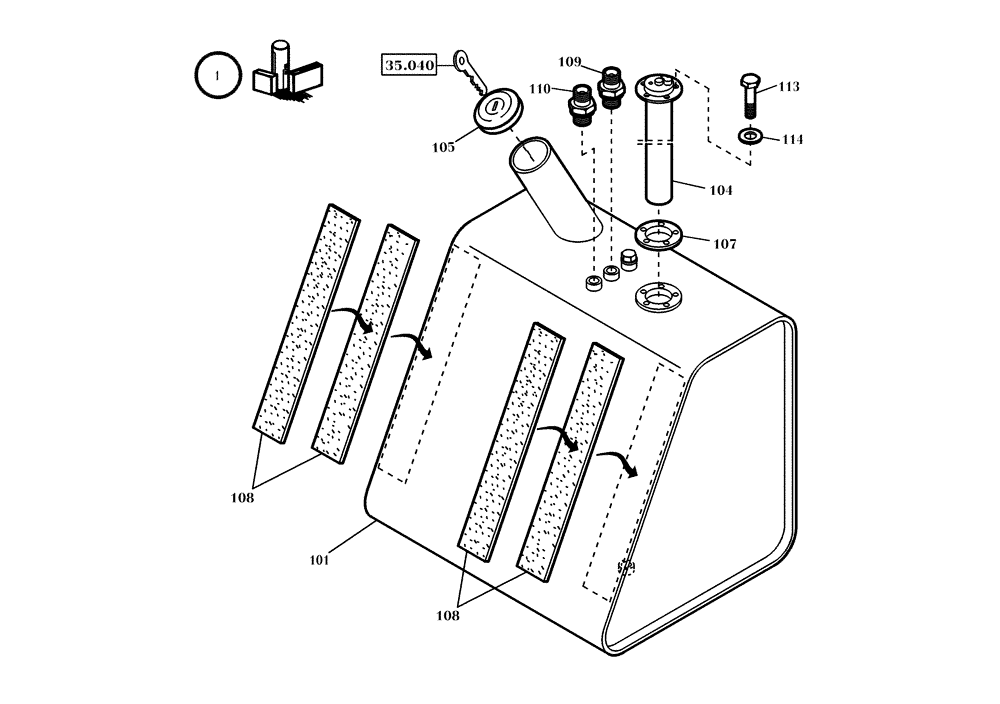
(10.200[001]) - FUEL TANK INSTALLATION (S/N 561101-UP)
№
Артикул
Название
Примечание
Количество
1
420732A1
FUEL TANK
1шт.
101
420733A1
104
420734A1
SENDER UNIT
105
420735A1
LOCKABLE FUEL CAP
107
420737A1
GASKET
108
420738A1
PLATE
4шт.
109
420739A1
SOCKET
110
420740A1
113
614-5016
BOLT,Hex, M5 x 0.8 x 16mm, Cl 8.8, Full Thd
5шт.
114
420741A1
SEALING RING
Выбрано товаров: 0