Качественные детали и логистика
Оригинальные и аналоговые запчасти с доставкой по России, Казахстану и Беларуси
©2022 PartSell ООО "Система" ИНН 2463123282 ОГРН 1212400004838
Центральный офис: г. Красноярск, Академика Киренского, д.87, пом.4
Телефон: 8 (800) 777-65-74 Email: zakaz@partsell.ru
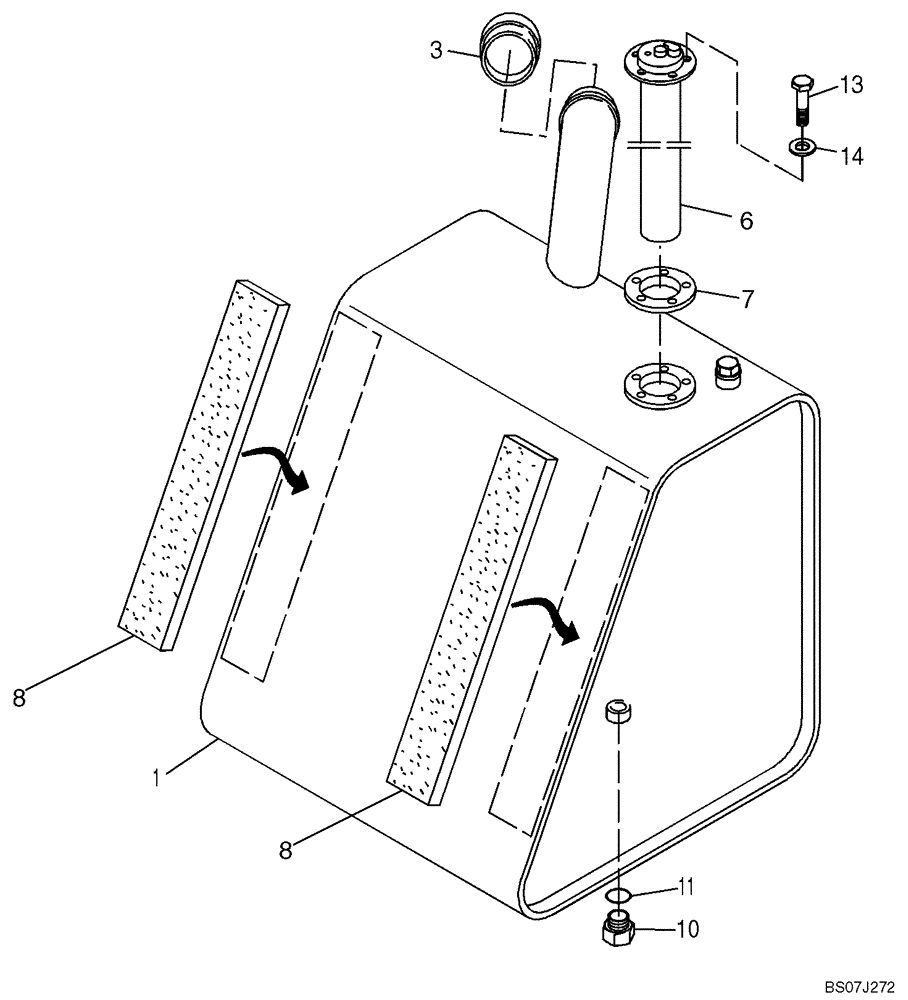
(10.202[2987090000]) - FUEL TANK
№
Артикул
Название
Примечание
Количество
1
4552044
FUEL TANK
1шт.
3
2928378
FILLER CAP
Replaces 420735A1
6
2929589
SENSOR
Fuel Level
7
124946
GASKET
Replaces 420737A1
8
4552045
SEALING STRIP
15 x 60 x 480 mm
2шт.
10
2115644
PLUG
M14 x 1.5
11
54837
SEALING RING
SEALRING Replaces 422782A1
13
54373
BOLT,Hex, M5 x 20mm, Cl 8.8
5шт.
14
589491
Выбрано товаров: 0