Качественные детали и логистика
Оригинальные и аналоговые запчасти с доставкой по России, Казахстану и Беларуси
©2022 PartSell ООО "Система" ИНН 2463123282 ОГРН 1212400004838
Центральный офис: г. Красноярск, Академика Киренского, д.87, пом.4
Телефон: 8 (800) 777-65-74 Email: zakaz@partsell.ru
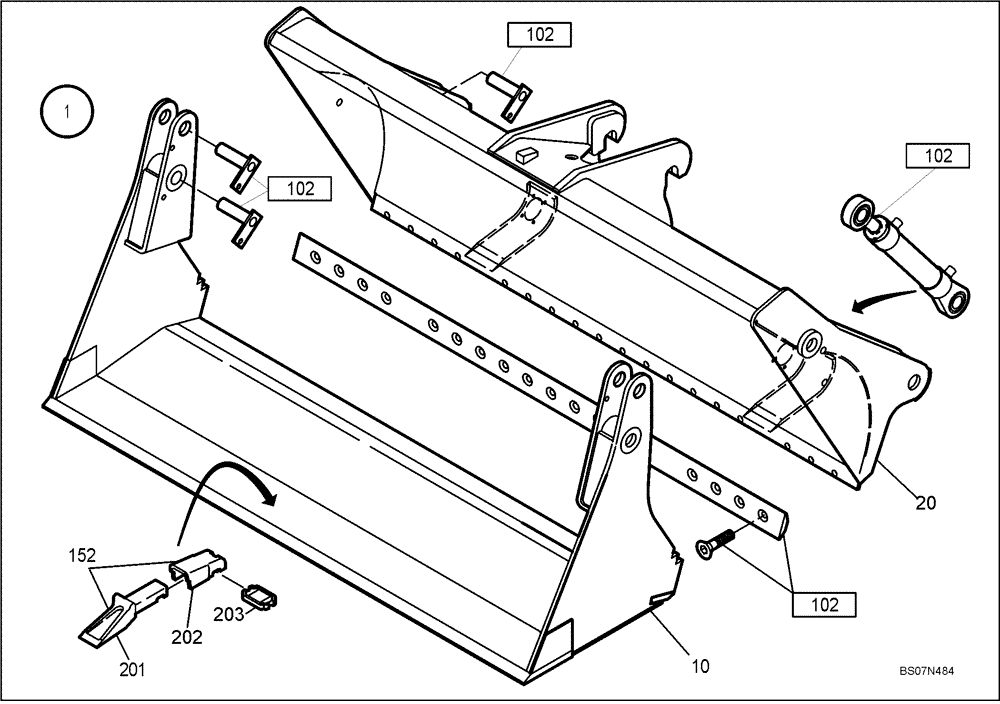
(64.006[2990721000]) - CLAMSHELL ASSEMBLY PARTS 850L M3-M.Z.
№
Артикул
Название
Примечание
Количество
1
4552736
CLAMSHELL
1шт.
10
4552737
FLAP, Incl. 152
20
4552722
WALL
102
2405943
Clamshell Assembly Parts, See Fig 64.004
152
1728651
INSTRUCTION
Incl. 201-203, Replaces 421892A1
201
589470
BUCKET TOOTH
Replaces 421524A1
7шт.
202
552490
BUCKET TOOTH SHANK
Replaces 421522A1
203
1461666
BUCKET TOOTH KEY
Replaces 421523A1
Выбрано товаров: 0