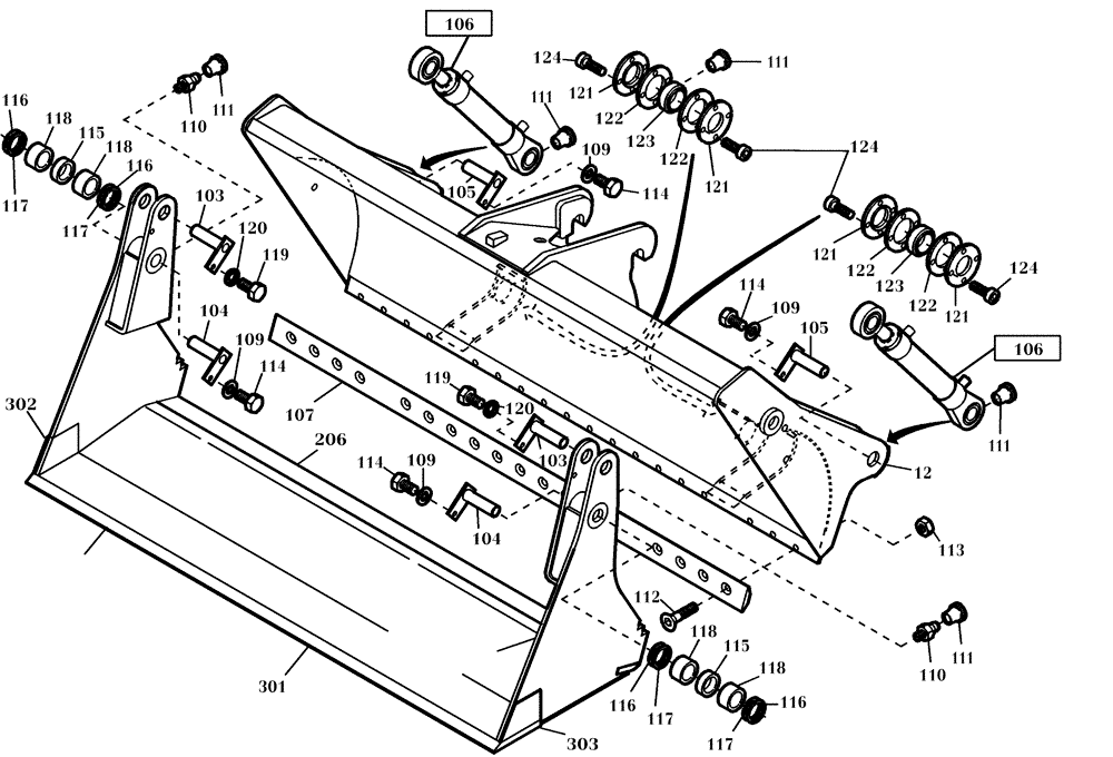
Запчасти Case 221D (64.012[001]) - 4 - IN - 1 BUCKET 850 L (OPTION) (S/N 581101-UP) (82) - FRONT LOADER & BUCKET

Схема запчастей Case 221D - (64.012[001]) - 4 - IN - 1 BUCKET 850 L (OPTION) (S/N 581101-UP) (82) - FRONT LOADER & BUCKET
111
119
122
105
124
107
116
117
110
12
116
111
106
105
124
116
111
112
121
123
302
110
113
118
109
114
115
104
114
118
120
118
114
122
114
120
121
303
104
109
109
119
117
106
117
118
124
111
109
122
121
115
122
123
103
301
111
103
206
121
116
117
FIT
1:1
100%

Артикул

Название

Примечание

Количество

1

421975A1

ENGINE OIL PUMP

1шт.

11

421976A1

FLAP

1шт.

12

421977A1

WALL

1шт.

103

421474A1

PIN

2шт.

104

421475A1

PIN

2шт.

105

421477A1

PIN

2шт.

106

NS

NOT SERVICED

SEE FIGURE 24.062/001

2шт.

107

421978A1

CUTTING EDGE

1шт.

109

420197A1

WASHER

4шт.

110

933781R1

LUBE NIPPLE,M10 x 1

2шт.

111

420886A1

CAP

6шт.

112

421979A1

SCREW

18шт.

113

100037

LOCK NUT,M10 x 1.5, Cl 8

18шт.

114

614-10016

BOLT,Hex, M10 x 1.5 x 16mm, Cl 8.8, Full Thd

4шт.

115

421498A1

SLEEVE

2шт.

116

421499A1

RING

4шт.

117

420924A1

RING

4шт.

118

421500A1

BUSHING

4шт.

119

614-12020

BOLT,Hex, M12 x 1.75 x 20mm, Cl 8.8, Full Thd

2шт.

120

424322A1

LOCK WASHER

2шт.

121

421845A1

COVER

4шт.

122

421847A1

WASHER

4шт.

123

421846A1

BALL BEARING

2шт.

124

421314A1

SCREW

16шт.

201

421980A1

CUTTING EDGE

1шт.

206

421981A1

CUTTING EDGE

1шт.

301

421982A1

CUTTING EDGE

1шт.

302

421983A1

CUTTING EDGE

1шт.

303

421984A1

CUTTING EDGE

1шт.

Выбрано товаров: 0