Запчасти Case 221D (64.012[002]) - 4 - IN - 1 BUCKET (OPTION) (S/N 581101-UP) (82) - FRONT LOADER & BUCKET

Схема запчастей Case 221D - (64.012[002]) - 4 - IN - 1 BUCKET (OPTION) (S/N 581101-UP) (82) - FRONT LOADER & BUCKET
123
114
114
105
403
118
117
118
114
123
117
113
124
401
302
109
121
110
105
114
115
118
303
104
116
103
121
116
116
124
111
112
117
103
120
124
104
118
119
117
109
206
111
(106)
12
402
122
301
110
115
(106)
120
109
119
122
107
109
116
FIT
1:1
100%

Артикул

Название

Примечание

Количество

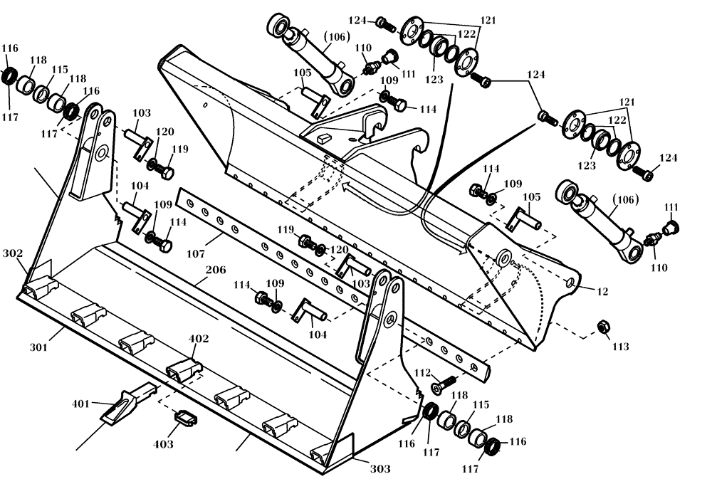
1

421986A1

BUCKET

1шт.

11

421987A1

FLAP

1шт.

12

421977A1

WALL

1шт.

103

421474A1

PIN

2шт.

104

421475A1

PIN

2шт.

105

421477A1

PIN

2шт.

106

421478A1

HYDRAULIC CYLINDER

2шт.

106

NS

NOT SERVICED

SEE FIGURE 24.062/001

1шт.

107

421978A1

CUTTING EDGE

1шт.

109

420197A1

WASHER

4шт.

110

933781R1

LUBE NIPPLE,M10 x 1

2шт.

111

420886A1

CAP

6шт.

112

421979A1

SCREW

18шт.

113

100037

LOCK NUT,M10 x 1.5, Cl 8

18шт.

114

614-10016

BOLT,Hex, M10 x 1.5 x 16mm, Cl 8.8, Full Thd

4шт.

115

421498A1

SLEEVE

2шт.

116

421499A1

RING

4шт.

117

420924A1

RING

4шт.

118

421500A1

BUSHING

4шт.

119

614-12020

BOLT,Hex, M12 x 1.75 x 20mm, Cl 8.8, Full Thd

2шт.

120

424322A1

LOCK WASHER

2шт.

121

421845A1

COVER

4шт.

122

421847A1

WASHER

4шт.

123

421846A1

BALL BEARING

2шт.

124

421314A1

SCREW

16шт.

201

421980A1

CUTTING EDGE

1шт.

206

421981A1

CUTTING EDGE

1шт.

301

421982A1

CUTTING EDGE

1шт.

302

421983A1

CUTTING EDGE

1шт.

303

421984A1

CUTTING EDGE

1шт.

400

421892A1

BUCKET TOOTH

1шт.

401

421524A1

TOOTH

7шт.

402

421522A1

BUCKET TOOTH SHANK

7шт.

403

421523A1

BUCKET TOOTH KEY

7шт.

Выбрано товаров: 34