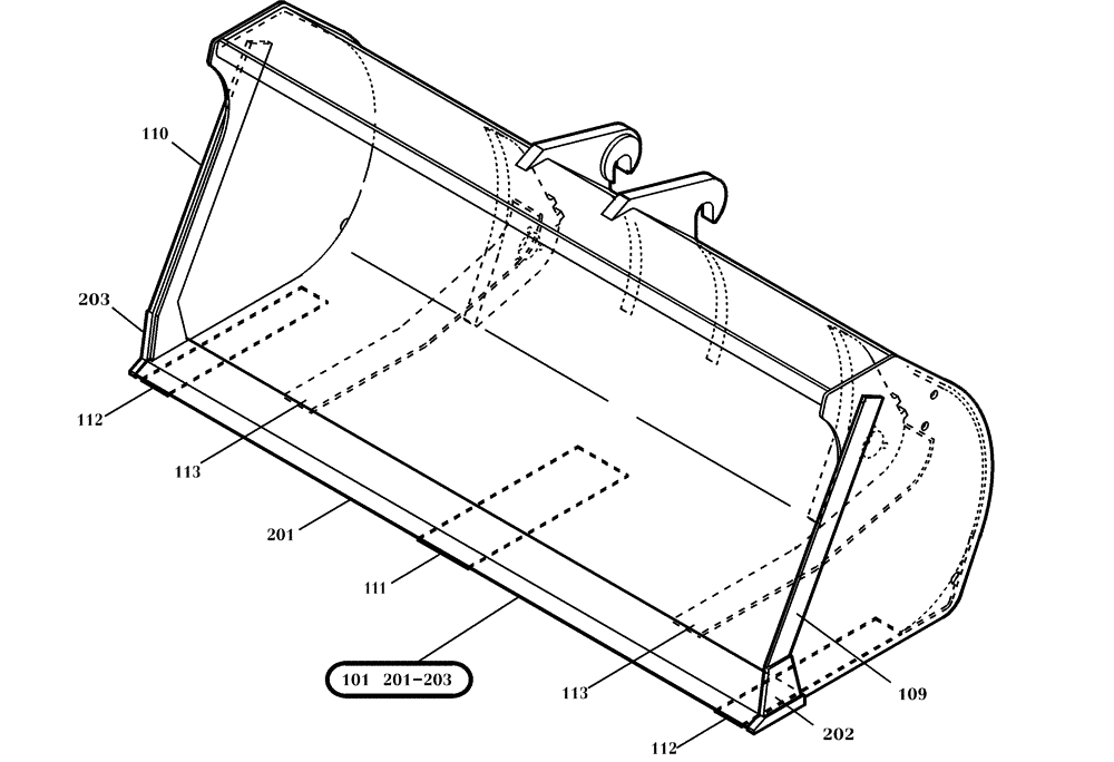
Запчасти Case 221D (64.202[003]) - LOADING BUCKET 900 L (OPTION) (S/N 581101-UP) (82) - FRONT LOADER & BUCKET

Схема запчастей Case 221D - (64.202[003]) - LOADING BUCKET 900 L (OPTION) (S/N 581101-UP) (82) - FRONT LOADER & BUCKET
113
101 201-203
111
203
202
109
112
110
112
113
201
FIT
1:1
100%

Артикул

Название

Примечание

Количество

1

421896A1

BUCKET

1шт.

101

421897A1

CUTTING EDGE

1шт.

109

421898A1

REINFORCEMENT

1шт.

110

421899A1

REINFORCEMENT

1шт.

111

421900A1

SUPPORT

1шт.

112

421901A1

SUPPORT

2шт.

113

421902A1

SUPPORT

2шт.

201

421887A1

CUTTING EDGE

1шт.

202

421903A1

CUTTING EDGE

1шт.

203

421904A1

CUTTING EDGE

1шт.

Выбрано товаров: 10