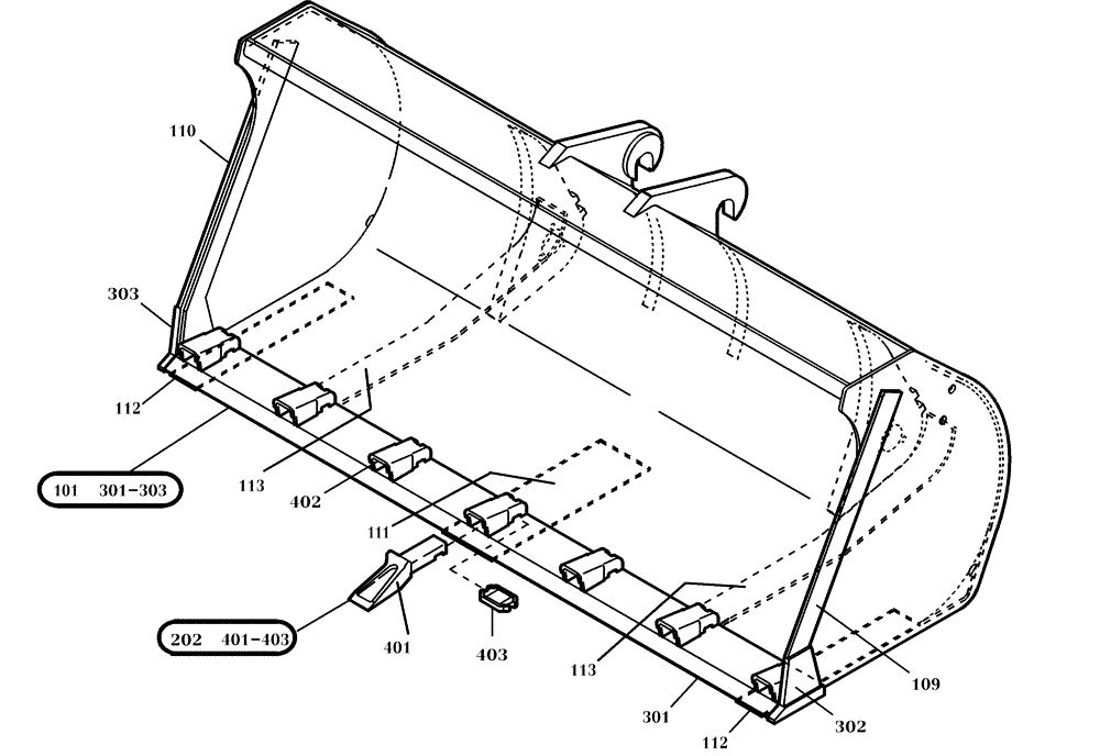
Запчасти Case 221D (64.202[004]) - LOADING BUCKET 900 L (OPTION) (S/N 581101-UP) (82) - FRONT LOADER & BUCKET

Схема запчастей Case 221D - (64.202[004]) - LOADING BUCKET 900 L (OPTION) (S/N 581101-UP) (82) - FRONT LOADER & BUCKET
403
301
303
401-403
113
112
113
109
301-303
302
111
402
110
401
112
101
202
FIT
1:1
100%

Артикул

Название

Примечание

Количество

1

421906A1

BUCKET

1шт.

101

421897A1

CUTTING EDGE

1шт.

109

421898A1

REINFORCEMENT

1шт.

110

421899A1

REINFORCEMENT

1шт.

111

421900A1

SUPPORT

1шт.

112

421901A1

SUPPORT

2шт.

113

421902A1

SUPPORT

2шт.

202

421892A1

BUCKET TOOTH

1шт.

301

421887A1

CUTTING EDGE

1шт.

302

421903A1

CUTTING EDGE

1шт.

303

421904A1

CUTTING EDGE

1шт.

401

421524A1

TOOTH

7шт.

402

421522A1

BUCKET TOOTH SHANK

7шт.

403

421523A1

BUCKET TOOTH KEY

7шт.

Выбрано товаров: 0