Запчасти Case 321D (02.025[2988730000]) - SWING AXLE HOUSING (27) - REAR AXLE SYSTEM

Схема запчастей Case 321D - (02.025[2988730000]) - SWING AXLE HOUSING (27) - REAR AXLE SYSTEM
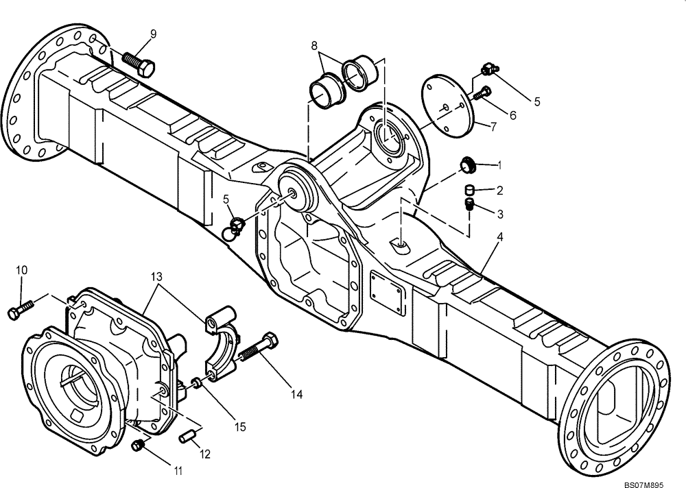
1
4
5
6
2
15
14
10
7
11
5
12
13
9
8
3
FIT
1:1
100%

Артикул

Название

Примечание

Количество

1

6914415

PLUG

Screw

1шт.

2

6915419

CAP

1шт.

3

6914422

BREATHER

Valve

1шт.

4

6915431

AXLE HOUSING

Tube

1шт.

5

6915421

LUBE NIPPLE

2шт.

6

6915422

SCREW

Hex Hd

3шт.

7

6915423

COVER

1шт.

8

6915424

BUSHING

2шт.

9

6914486

SCREW

Hex Hd

32шт.

10

6914423

SCREW

Hex Hd

10шт.

11

6914427

PLUG

Screw

1шт.

12

6914416

PIN,18mm OD x 38mm L

Straight

2шт.

13

6915425

SUPPORT

Incl. 14, 15

1шт.

14

6914425

SCREW

Hex Hd

4шт.

15

6914426

SLEEVE

4шт.

Выбрано товаров: 15