Запчасти Case 321D (32.175[2990441000]) - MAIN SWITCH BATTERY INSTALLATION (OPTION) (55) - ELECTRICAL SYSTEMS

Схема запчастей Case 321D - (32.175[2990441000]) - MAIN SWITCH BATTERY INSTALLATION (OPTION) (55) - ELECTRICAL SYSTEMS
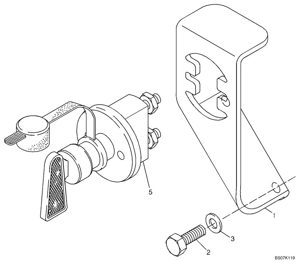
5
3
2
1
FIT
1:1
100%

Артикул

Название

Примечание

Количество

1

4552920

BRACKET

M5 x 207 x 245

1шт.

2

54399

BOLT,Hex, M8 x 16mm, Cl 8.8

Replaces 614-8016

2шт.

3

2975165

WASHER

M8

2шт.

5

2142641

BATTERY CUT-OUT

See Fig 32.176

1шт.

Выбрано товаров: 4