Качественные детали и логистика
Оригинальные и аналоговые запчасти с доставкой по России, Казахстану и Беларуси
©2022 PartSell ООО "Система" ИНН 2463123282 ОГРН 1212400004838
Центральный офис: г. Красноярск, Академика Киренского, д.87, пом.4
Телефон: 8 (800) 777-65-74 Email: zakaz@partsell.ru
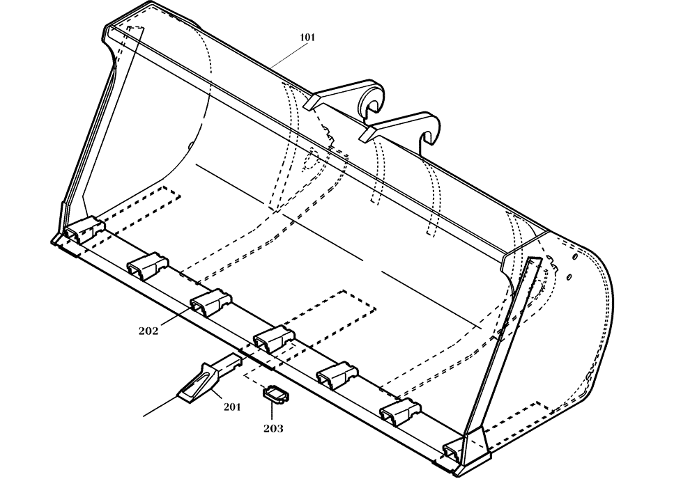
(64.207[2989617000]) - LOADING BUCKET 1100L-2100MM MIT
№
Артикул
Название
Примечание
Количество
1
Loading Bucket 1100L-2100M (2813010) See Fig 64.206
1шт.
102
1728653
BUCKET TOOTH
Replaces 421892A1
201
589470
Replaces
7шт.
202
552490
BUCKET TOOTH SHANK
Tooth, Replaces 421522A1
203
1461666
BUCKET TOOTH KEY
Replaces 421523A1
Выбрано товаров: 0