Качественные детали и логистика
Оригинальные и аналоговые запчасти с доставкой по России, Казахстану и Беларуси
©2022 PartSell ООО "Система" ИНН 2463123282 ОГРН 1212400004838
Центральный офис: г. Красноярск, Академика Киренского, д.87, пом.4
Телефон: 8 (800) 777-65-74 Email: zakaz@partsell.ru
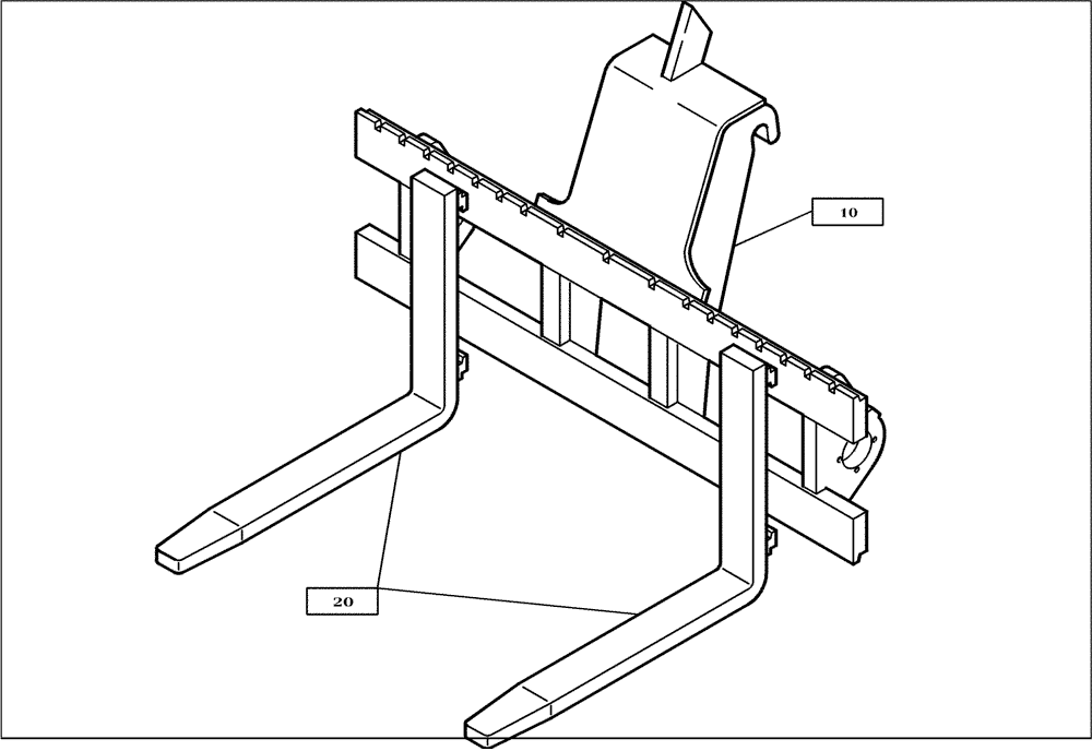
(70.301[2989597000]) - FORK CARRIAGE 1450BR
№
Артикул
Название
Примечание
Количество
1
4552766
Fork, Incl. 20-3
1шт.
10
4552849
FRAME
Fork Carriage (2405910) , for Assembly Parts See Fig 70.314
20
4552590
BUCKET FORK
100 X 45 X 120 See Fig 70.330
2шт.
Forks comes in a q.ty of 1 per part order
Выбрано товаров: 0