Качественные детали и логистика
Оригинальные и аналоговые запчасти с доставкой по России, Казахстану и Беларуси
©2022 PartSell ООО "Система" ИНН 2463123282 ОГРН 1212400004838
Центральный офис: г. Красноярск, Академика Киренского, д.87, пом.4
Телефон: 8 (800) 777-65-74 Email: zakaz@partsell.ru
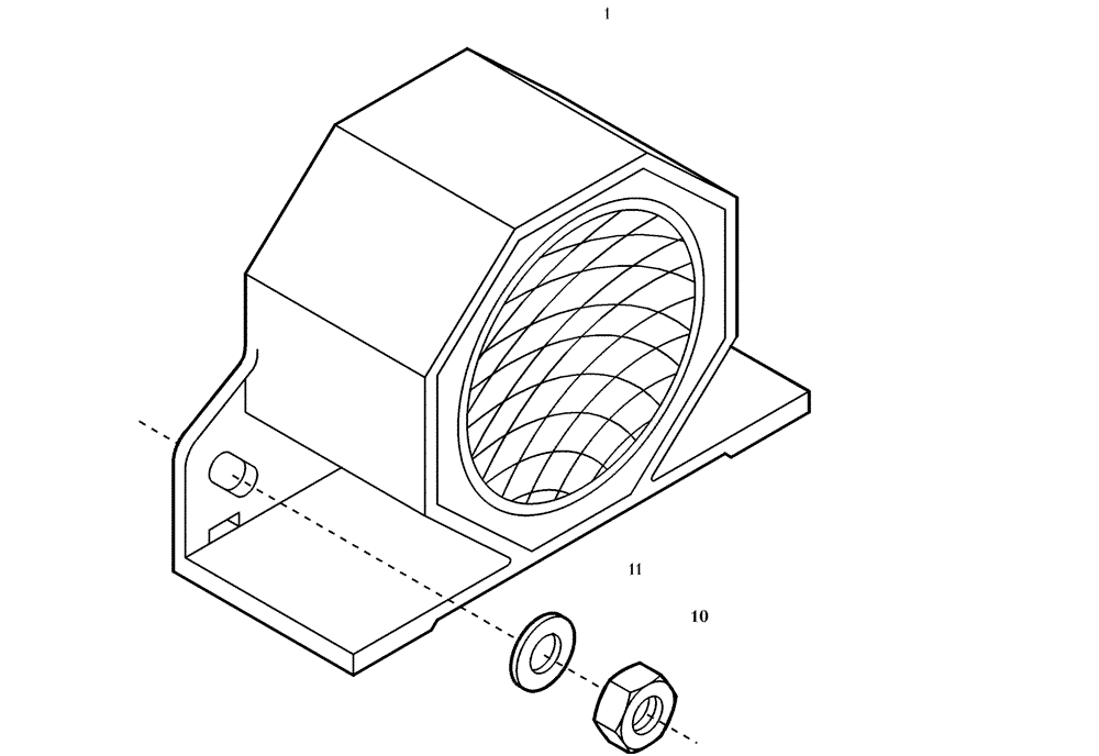
(32.872[001]) - SIGNAL REVERSING (OPTION) (S/N 591052-UP)
№
Артикул
Название
Примечание
Количество
1
421448A1
ALARM
1шт.
10
832-46406
NUT,M6 x 1, Cl 8
2шт.
11
895-25006
WASHER,6.6mm ID x 18mm OD x 1.6mm Thk
Выбрано товаров: 0