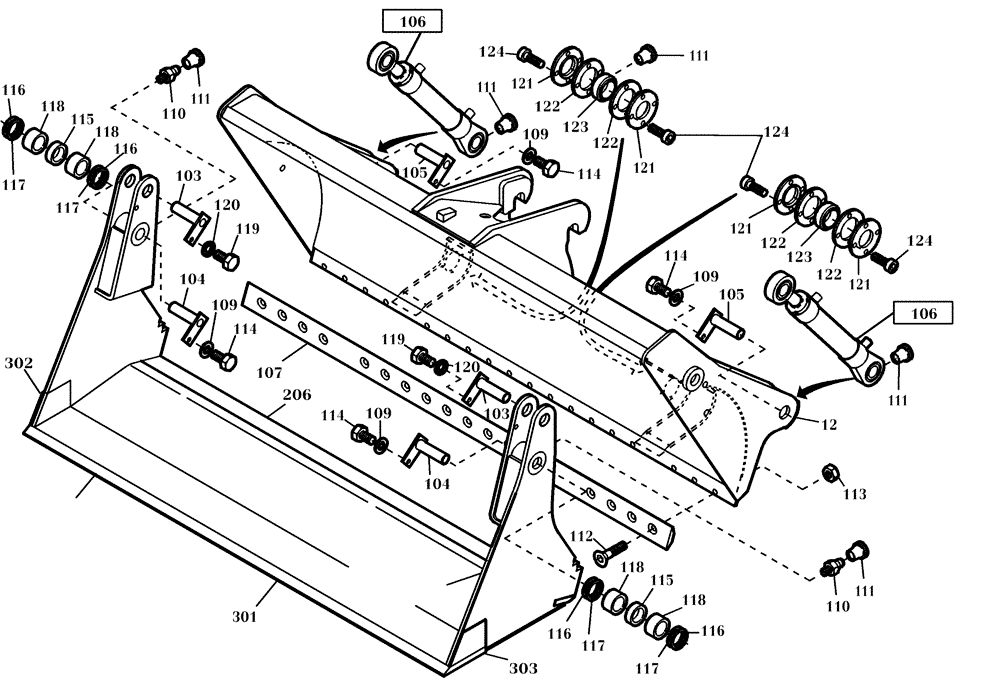
Запчасти Case 321D (64.012[001]) - 4 - IN - 1 BUCKET 950 L (OPTION) (S/N 591052-UP) No Description

Схема запчастей Case 321D - (64.012[001]) - 4 - IN - 1 BUCKET 950 L (OPTION) (S/N 591052-UP) No Description
116
114
104
111
114
121
109
106
107
121
105
117
106
111
123
118
122
116
111
116
112
110
120
103
117
303
124
301
118
122
206
123
121
109
109
117
114
111
116
105
118
121
122
122
113
103
114
120
117
124
115
109
124
110
104
118
12
111
115
119
302
119
FIT
1:1
100%

Артикул

Название

Примечание

Количество

1

422553A1

BUCKET

1шт.

11

422554A1

FLAP

1шт.

12

422555A1

WALL

1шт.

103

421474A1

PIN

2шт.

104

421475A1

PIN

2шт.

105

421477A1

PIN

2шт.

106

NS

NOT SERVICED

SEE FIGURE 24.062/001

2шт.

107

421978A1

CUTTING EDGE

1шт.

109

420197A1

WASHER

4шт.

110

933781R1

LUBE NIPPLE,M10 x 1

2шт.

111

420886A1

CAP

6шт.

112

421979A1

SCREW

18шт.

113

100037

LOCK NUT,M10 x 1.5, Cl 8

18шт.

114

614-10016

BOLT,Hex, M10 x 1.5 x 16mm, Cl 8.8, Full Thd

4шт.

115

421498A1

SLEEVE

2шт.

116

421499A1

RING

4шт.

117

420924A1

RING

4шт.

118

421500A1

BUSHING

4шт.

119

614-12020

BOLT,Hex, M12 x 1.75 x 20mm, Cl 8.8, Full Thd

2шт.

120

895-11012

WASHER,13.5mm ID x 24mm OD x 2.5mm Thk

2шт.

121

421845A1

COVER

4шт.

122

421847A1

WASHER

4шт.

123

421846A1

BALL BEARING

2шт.

124

421314A1

SCREW

16шт.

201

421980A1

CUTTING EDGE

1шт.

206

421981A1

CUTTING EDGE

1шт.

301

421982A1

CUTTING EDGE

1шт.

302

421983A1

CUTTING EDGE

1шт.

303

421984A1

CUTTING EDGE

1шт.

Выбрано товаров: 29