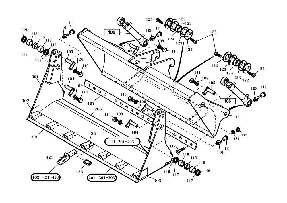
Запчасти Case 321D (64.012[002]) - 4 - IN - 1 BUCKET 950 L (OPTION) (S/N 591052-UP) No Description

Схема запчастей Case 321D - (64.012[002]) - 4 - IN - 1 BUCKET 950 L (OPTION) (S/N 591052-UP) No Description
402
122
104
122
123
119
117
123
110
301-303
201
105
108
11 201-423
115
423
421
117
104
109
115
422
118
12
114
123
118
125
125
111
118
302
103
120
111
125
206
116
301
303
109
123
108
114
114
114
119
118
116
109
112
107
117
116
122
301
121
111
111
117
103
113
109
122
124
120
116
124
105
110
421-423
FIT
1:1
100%

Артикул

Название

Примечание

Количество

1

422556A1

FLAP

1шт.

11

422557A1

FLAP

1шт.

12

422555A1

WALL

1шт.

103

421474A1

PIN

2шт.

104

421475A1

PIN

2шт.

105

421477A1

PIN

2шт.

106

NS

NOT SERVICED

SEE FIGURE 24.062/001

2шт.

107

421978A1

CUTTING EDGE

1шт.

109

420197A1

WASHER

4шт.

110

933781R1

LUBE NIPPLE,M10 x 1

2шт.

111

420886A1

CAP

6шт.

112

421979A1

SCREW

18шт.

113

100037

LOCK NUT,M10 x 1.5, Cl 8

18шт.

114

614-10016

BOLT,Hex, M10 x 1.5 x 16mm, Cl 8.8, Full Thd

4шт.

115

421498A1

SLEEVE

2шт.

116

421499A1

RING

4шт.

117

420924A1

RING

4шт.

118

421500A1

BUSHING

4шт.

119

614-12020

BOLT,Hex, M12 x 1.75 x 20mm, Cl 8.8, Full Thd

2шт.

120

895-11012

WASHER,13.5mm ID x 24mm OD x 2.5mm Thk

2шт.

121

421845A1

COVER

4шт.

122

421847A1

WASHER

4шт.

123

421846A1

BALL BEARING

2шт.

124

421314A1

SCREW

16шт.

201

421980A1

CUTTING EDGE

1шт.

206

421981A1

CUTTING EDGE

1шт.

301

421982A1

CUTTING EDGE

1шт.

302

421983A1

CUTTING EDGE

1шт.

303

421984A1

CUTTING EDGE

1шт.

402

421892A1

BUCKET TOOTH

1шт.

421

421524A1

TOOTH

7шт.

422

421522A1

BUCKET TOOTH SHANK

7шт.

423

421523A1

BUCKET TOOTH KEY

7шт.

Выбрано товаров: 33