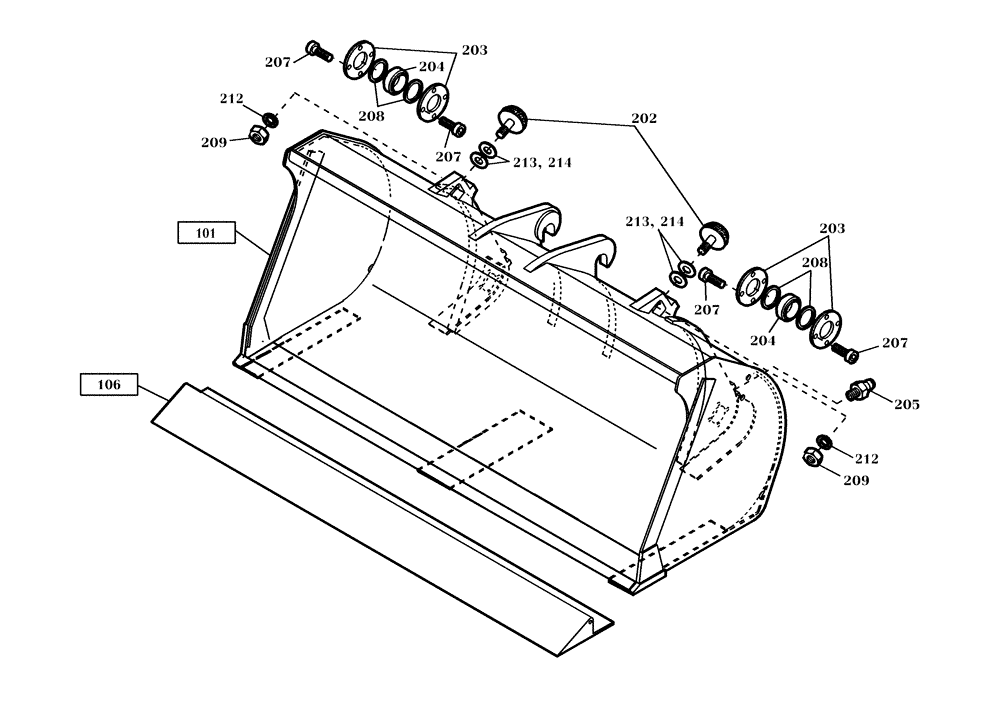
Запчасти Case 321D (64.200[001]) - LOADING BUCKET INSTALLATION 1000 L (OPTION) (S/N 591052-UP) No Description

Схема запчастей Case 321D - (64.200[001]) - LOADING BUCKET INSTALLATION 1000 L (OPTION) (S/N 591052-UP) No Description
207
106
202
205
203
203
207
209
204
212
101
208
212
207
204
208
209
207
FIT
1:1
100%

Артикул

Название

Примечание

Количество

1

422548A1

BUCKET

1шт.

101

NS

NOT SERVICED

SEE FIGURE 64.202/001

1шт.

106

NS

NOT SERVICED

SEE FIGURE 42.050/001

1шт.

202

420260A1

BUMPER

2шт.

203

421845A1

COVER

4шт.

204

421846A1

BALL BEARING

2шт.

205

420268A1

LUBE NIPPLE

2шт.

207

421314A1

SCREW

16шт.

208

421847A1

WASHER

4шт.

209

825-1416

NUT,M16, Cl 8

2шт.

212

892-11016

LOCK WASHER,16.4mm ID x 27.4mm OD x 5mm Thk

2шт.

213

420231A1

WASHER

2шт.

214

421320A1

WASHER

2шт.

Выбрано товаров: 13