Запчасти Case 321D (64.200[002]) - LOADING BUCKET INSTALLATION (OPTION) (S/N 591052-UP) No Description

Схема запчастей Case 321D - (64.200[002]) - LOADING BUCKET INSTALLATION (OPTION) (S/N 591052-UP) No Description
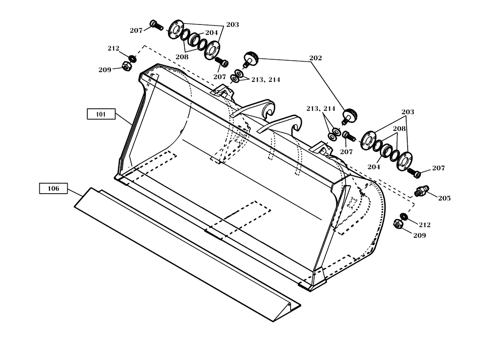
212
101
208
209
207
106
204
209
207
212
205
208
203
203
207
204
202
207
FIT
1:1
100%

Артикул

Название

Примечание

Количество

1

422546A1

BUCKET

1шт.

101

NS

NOT SERVICED

SEE FIGURE 64.202/002

1шт.

106

NS

NOT SERVICED

SEE FIGURE 42.050/001

1шт.

114

421320A1

WASHER

2шт.

202

420260A1

BUMPER

2шт.

203

421845A1

COVER

4шт.

204

421846A1

BALL BEARING

2шт.

205

420268A1

LUBE NIPPLE

2шт.

207

421314A1

SCREW

16шт.

208

421847A1

WASHER

4шт.

209

825-1416

NUT,M16, Cl 8

2шт.

212

892-11016

LOCK WASHER,16.4mm ID x 27.4mm OD x 5mm Thk

2шт.

213

420231A1

WASHER

2шт.

214

421320A1

WASHER

2шт.

Выбрано товаров: 14