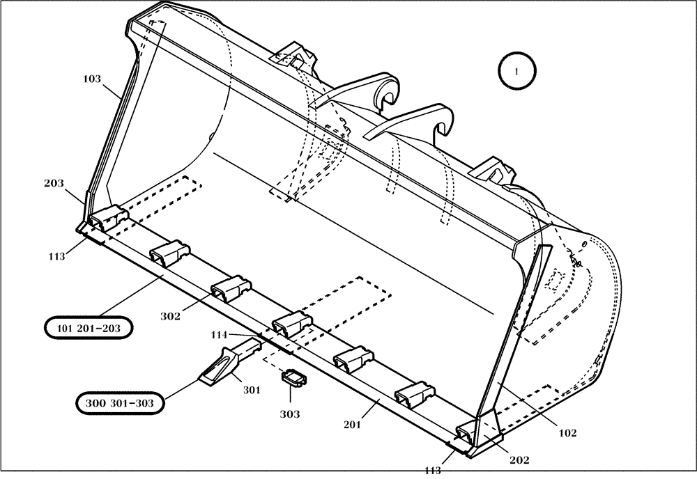
Запчасти Case 321D (64.202[003]) - LOADING BUCKET 1100 L (S/N 591052-UP) No Description

Схема запчастей Case 321D - (64.202[003]) - LOADING BUCKET 1100 L (S/N 591052-UP) No Description
302
101
301
103
114
201-203
303
1
203
201
113
300
202
113
301-303
102
FIT
1:1
100%

Артикул

Название

Примечание

Количество

1

422502A1

BUCKET

1шт.

101

421953A1

CUTTING EDGE

1шт.

102

422503A1

REINFORCEMENT

1шт.

103

422504A1

REINFORCEMENT

1шт.

113

422505A1

SUPPORT

2шт.

114

422506A1

SUPPORT

1шт.

201

421958A1

CUTTING EDGE

1шт.

202

421842A1

CUTTING EDGE

1шт.

203

421843A1

CUTTING EDGE

1шт.

300

421892A1

BUCKET TOOTH

1шт.

301

421524A1

TOOTH

7шт.

302

421522A1

BUCKET TOOTH SHANK

7шт.

303

421523A1

BUCKET TOOTH KEY

7шт.

Выбрано товаров: 13