Запчасти Case 321D (64.212[001]) - LIGHT GOODS BUCKET 1200 L (OPTION) (S/N 591052-UP) No Description

Схема запчастей Case 321D - (64.212[001]) - LIGHT GOODS BUCKET 1200 L (OPTION) (S/N 591052-UP) No Description
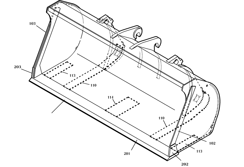
203
102
110
201
113
103
202
113
110
114
FIT
1:1
100%

Артикул

Название

Примечание

Количество

1

422559A1

BUCKET

1шт.

101

421953A1

CUTTING EDGE

1шт.

102

422503A1

REINFORCEMENT

1шт.

103

422504A1

REINFORCEMENT

1шт.

110

422560A1

SUPPORT

2шт.

113

422561A1

SUPPORT

2шт.

114

422562A1

SUPPORT

1шт.

201

421958A1

CUTTING EDGE

1шт.

202

421842A1

CUTTING EDGE

1шт.

203

421843A1

CUTTING EDGE

1шт.

Выбрано товаров: 0