Качественные детали и логистика
Оригинальные и аналоговые запчасти с доставкой по России, Казахстану и Беларуси
©2022 PartSell ООО "Система" ИНН 2463123282 ОГРН 1212400004838
Центральный офис: г. Красноярск, Академика Киренского, д.87, пом.4
Телефон: 8 (800) 777-65-74 Email: zakaz@partsell.ru
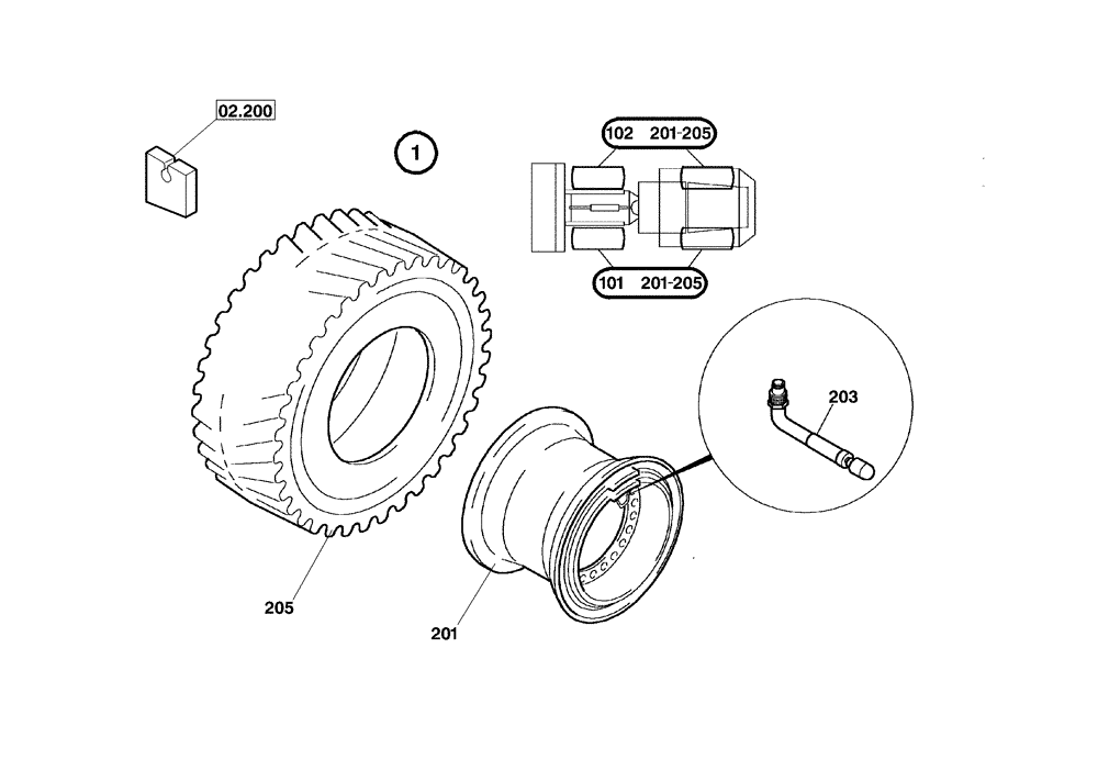
(05.100[003]) - WHEELS 16/17-20EM (OPTION) (S/N 591052-UP)
№
Артикул
Название
Примечание
Количество
1
422684A1
GEAR SET
1шт.
101
422685A1
WHEEL ASSY
2шт.
102
422686A1
201
422681A1
RIM
203
421282A1
VALVE
205
422687A1
TYRE/TIRE
Выбрано товаров: 0