Качественные детали и логистика
Оригинальные и аналоговые запчасти с доставкой по России, Казахстану и Беларуси
©2022 PartSell ООО "Система" ИНН 2463123282 ОГРН 1212400004838
Центральный офис: г. Красноярск, Академика Киренского, д.87, пом.4
Телефон: 8 (800) 777-65-74 Email: zakaz@partsell.ru
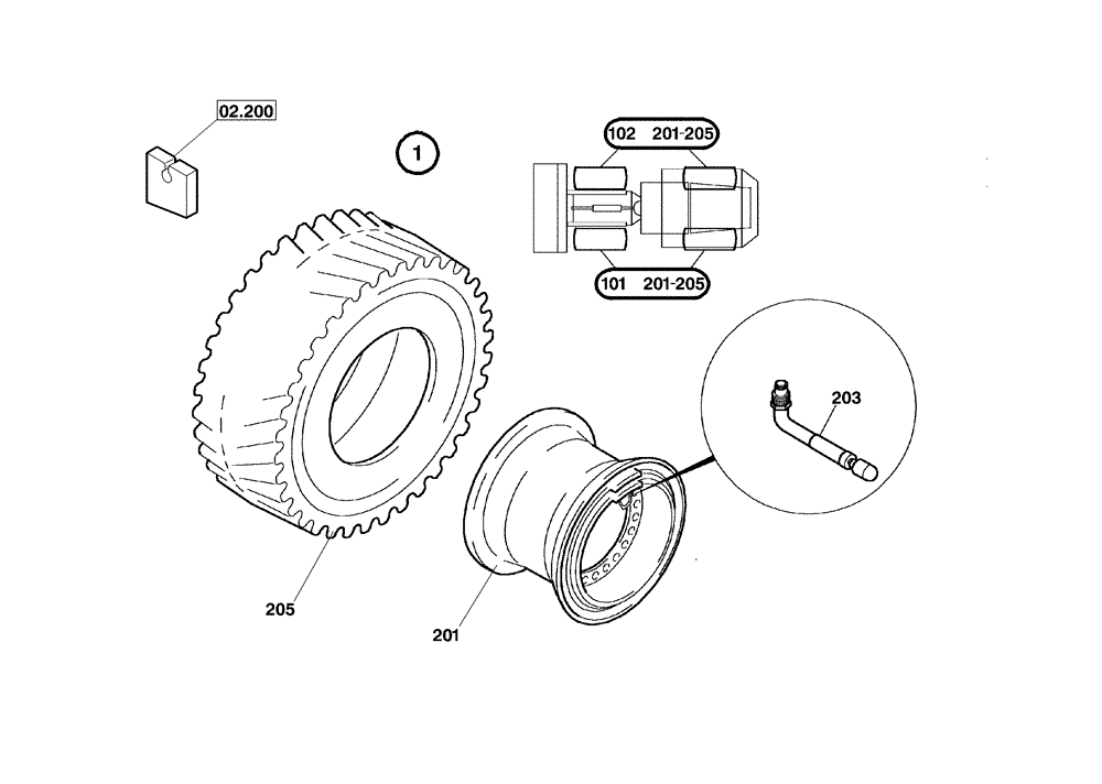
(05.100[004]) - WHEELS 405/70 R20 (OPTION) (S/N 591052-UP)
№
Артикул
Название
Примечание
Количество
1
423623A1
GEAR SET
1шт.
101
423624A1
WHEEL ASSY
2шт.
102
423625A1
201
422672A1
WHEEL
4шт.
203
421282A1
VALVE
205
423626A1
TYRE/TIRE
Выбрано товаров: 0