Запчасти Case 321D (23.211[2988119001]) - SHIFT VALVE MOUNTING PARTS (35) - HYDRAULIC SYSTEMS

Схема запчастей Case 321D - (23.211[2988119001]) - SHIFT VALVE MOUNTING PARTS (35) - HYDRAULIC SYSTEMS
2
10
1
12
b
a
10
11
p
21
20
13
t
11
FIT
1:1
100%

Артикул

Название

Примечание

Количество

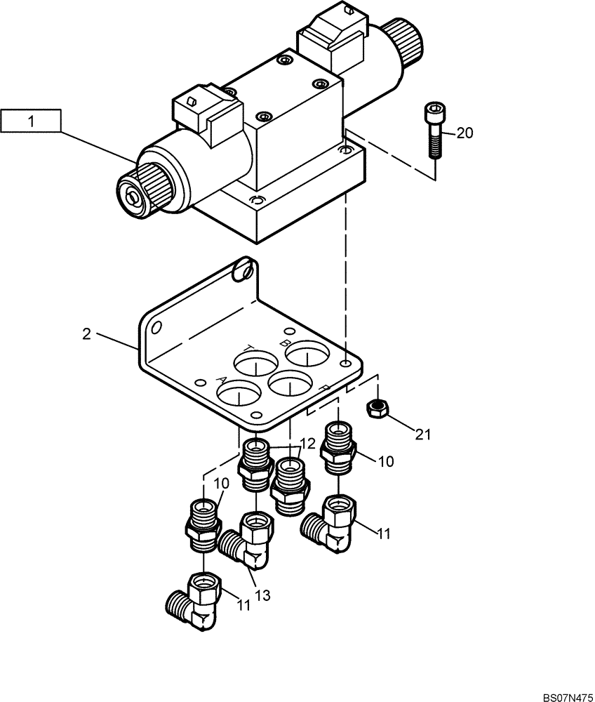
1

4532265

CONTROL BLOCK

Shift Valve (4532265) See Fig 23.212

1шт.

2

2813790

BRACKET

1шт.

10

1665749

TEE

SOCKET DIN 3901-L 8 E-G 1/4-ST

2шт.

11

1636004

ELBOW

SOCKET EW 8-L/OMD

2шт.

12

1637183

HYD CONNECTOR

SOCKET DIN 3901-L 10 E-G1/4-ST

2шт.

13

1983888

ELBOW

SOCKET EW10-L/OMD

1шт.

20

2979391

SCREW

M5 x 25-8.8

4шт.

21

2977215

NUT,M5 x 0.8, Cl 8

4шт.

Выбрано товаров: 0