Запчасти Case 321D (24.122[2991211000]) - STEERING CYLINDER (41) - STEERING

Схема запчастей Case 321D - (24.122[2991211000]) - STEERING CYLINDER (41) - STEERING
150
160
80
210
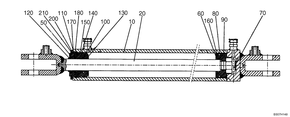
10
50
130
20
100
180
60
170
140
110
90
200
120
70
FIT
1:1
100%

Артикул

Название

Примечание

Количество

4532258

STEERING CYLINDER

1шт.

10

87684031

BARREL

1шт.

20

87684029

PISTON ROD

1шт.

50

6904137

GUIDE

1шт.

60

6904138

PISTON

1шт.

70

2929094

NUT

1шт.

80

6904139

GASKET

1шт.

90

8488441

GUIDE RING

1шт.

100

6904140

SEALING RING

SEALRING

1шт.

110

6904141

SEALING RING

SEALRING

1шт.

120

6904142

WRAPPER

1шт.

130

8488442

GUIDE RING

2шт.

140

6904143

O-RING

1шт.

150

6904144

BACK-UP RING

1шт.

160

6904145

O-RING

1шт.

170

2247454

O-RING,50mm ID x 3mm Width

1шт.

180

56980

SNAP RING

1шт.

200

6904146

SPACER

1шт.

210

12498

SNAP RING

1шт.

270

6911849

GASKET KIT

Not Illustrated

1шт.

Выбрано товаров: 20