Запчасти Case 321D (32.753[2987734000]) - WIRE HARNESS RIDECONTROL (55) - ELECTRICAL SYSTEMS

Схема запчастей Case 321D - (32.753[2987734000]) - WIRE HARNESS RIDECONTROL (55) - ELECTRICAL SYSTEMS
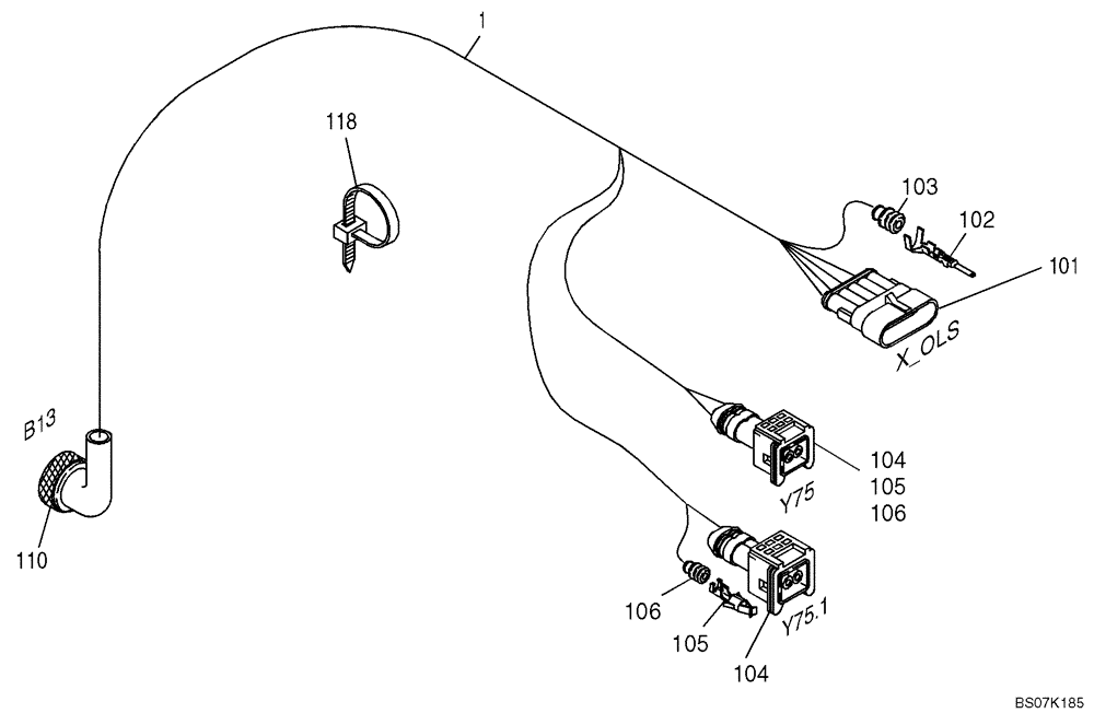
104
105
118
105
104
103
101
1
102
110
106
106
FIT
1:1
100%

Артикул

Название

Примечание

Количество

1

3004862

WIRE HARNESS

1шт.

101

2929138

CONTACT HOUSING,5 Pole

5POL SUPERSEAL 282107-1 AMP

1шт.

102

2928544

ELEC. TERMINAL PIN

PIN 282109-1 AMP

5шт.

103

2928184

GASKET

281934-4 AMP, Replaces 424097A1

5шт.

104

2980857

CONTACT HOUSING,Male, 2 Pin

JUNIOR-TIMER 963040-3 AMP

2шт.

105

2700245

CONTACT

JUNIOR-TIMER 929940-1 AMP, Replaces 424264A1

4шт.

106

2700246

GASKET

828904-1 AMP, Replaces 424265A1

4шт.

110

2247131

PLUG

Replaces 424262A1

1шт.

118

726789

CABLE TIE,M4.8 x 188

CABLE STRAP TIE T80I 4,7 x 300 111-08290, Replaces 421076A1

5шт.

Выбрано товаров: 9