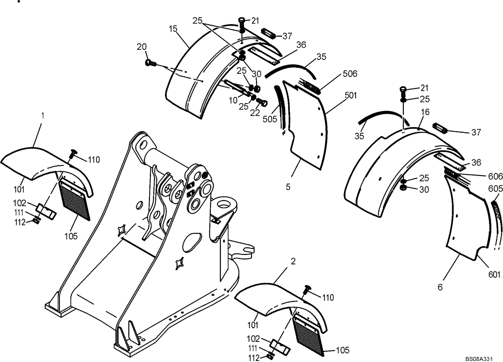
Запчасти Case 21E (01.680[2991456002]) - WHEEL COVER INSTALLATION (90) - PLATFORM, CAB, BODYWORK AND DECALS

Схема запчастей Case 21E - (01.680[2991456002]) - WHEEL COVER INSTALLATION (90) - PLATFORM, CAB, BODYWORK AND DECALS
36
506
102
606
25
501
110
505
37
102
35
25
605
1
112
101-112
30
35
21
601
21
20
16
111
101-112
111
15
37
25
2
30
10
101
105
105
101
5
6
36
501-506
22
25
25
110
112
601-606
FIT
1:1
100%

Артикул

Название

Примечание

Количество

1

4552871

FRONT FENDER

Front Right Incl 101-112

1шт.

2

4552872

FRONT FENDER

Front Left Incl 101-112

1шт.

5

2772681

FENDER EXTENSION

Right, Inc 501-506

1шт.

6

2772682

FENDER EXTENSION

Left, Incl 601-606

1шт.

10

4552189

RETAINER

1шт.

15

2772679

REAR FENDER

Right

1шт.

16

2772276

REAR FENDER

Rear Left

1шт.

20

2929702

HEX SOC SCREW,M8 x 20mm L

Hex Soc M8 x 20 10.9 ZN

2шт.

21

54405

BOLT,Hex, M8 x 25, 8.8

12шт.

22

2975214

BOLT,Hex, M8 x 1.25 x 30mm, Cl 8.8

1шт.

23

2977405

SCREW

4шт.

25

62543

WASHER

32шт.

26

2975165

WASHER

4шт.

30

68841

NUT,M8 x 1.25, Cl 8

19шт.

35

2928063

SEAL

0.573 Meter

1шт.

36

2928063

SEAL

0.25 Meter

1шт.

37

4150664

SEAL

0.155 Meter

1шт.

101

4552873

FRONT FENDER

Front

1шт.

102

2813997

SUPPORT

4 x 757 x 235 mm

1шт.

105

1758982

FRONT FENDER

Mud Flaps 300 x 300 Replaces 423731A1

1шт.

110

3124107

SCREW

6шт.

111

62543

WASHER

Replaces 420222A1

6шт.

112

86528579

NUT,M8 x 1.25

Replaces 832-10408

6шт.

501

2772683

FENDER EXTENSION

Right

1шт.

505

2928754

GUARD

Sectional Rubber, 0.73 Meter

1шт.

506

3013364

SEAL

0.31 Meter, Replaces 423769A1

1шт.

601

2772684

FENDER EXTENSION

Left

1шт.

605

2928754

GUARD

Sectional Rubber, 0.73 Meter, Replaces 422733A1

1шт.

606

3013364

SEAL

0.31 Meter, Replaces 423769A1

1шт.

Выбрано товаров: 29