Качественные детали и логистика
Оригинальные и аналоговые запчасти с доставкой по России, Казахстану и Беларуси
©2022 PartSell ООО "Система" ИНН 2463123282 ОГРН 1212400004838
Центральный офис: г. Красноярск, Академика Киренского, д.87, пом.4
Телефон: 8 (800) 777-65-74 Email: zakaz@partsell.ru
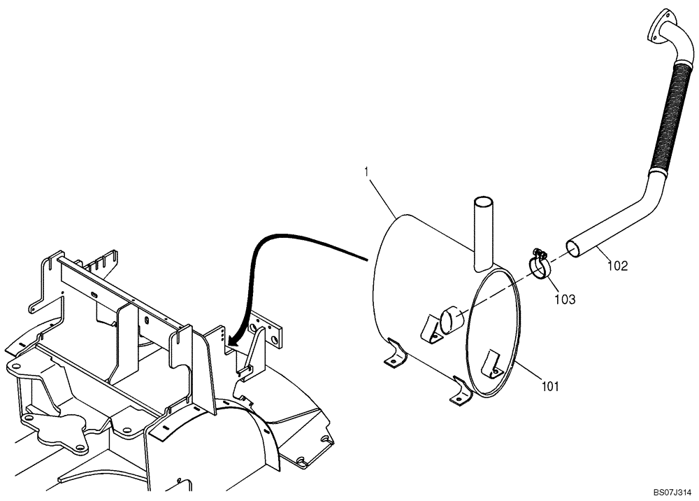
(13.222[2987651000]) - MUFFLER
№
Артикул
Название
Примечание
Количество
1
2772597
MUFFLER
Incl. 101-103
1шт.
101
4552400
102
2772598
EXHAUST SYSTEM PIPE
103
2928781
PIPE CLAMP
Replaces 422780A1
Выбрано товаров: 0