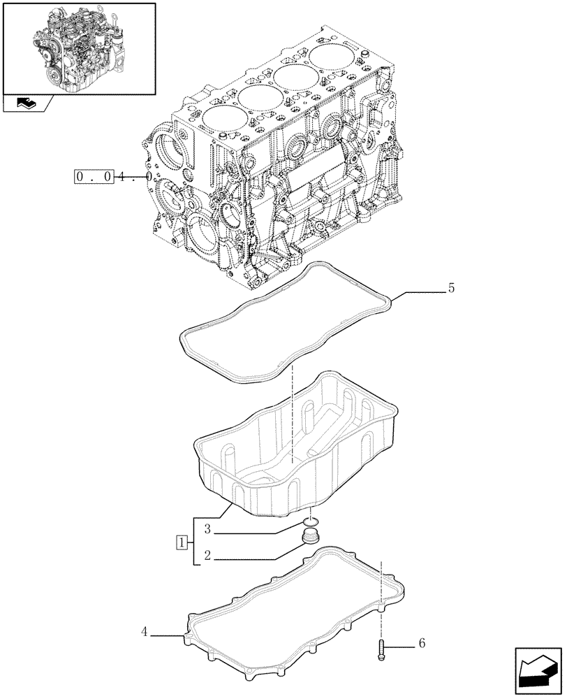
Запчасти Case 21E (0.04.2) - OIL SUMP & RELATED PARTS (01) - ENGINE

Схема запчастей Case 21E - (0.04.2) - OIL SUMP & RELATED PARTS (01) - ENGINE
4
3
2
home
0.04.0
6
1
5
FIT
1:1
100%

Артикул

Название

Примечание

Количество

1

504179445

ENGINE OIL PAN

- ASSY

1шт.

2

4894139

PLUG,Hex Soc, M22 x 1.5

1шт.

3

2853728

O-RING,M23.47 ID x 2.62 Thk

1шт.

4

504179442

SPACER

1шт.

5

504179443

OIL PAN GASKET SET

1шт.

6

16586624

SCREW,M8 x 35mm

M8 x 35

13шт.

Выбрано товаров: 6