Запчасти Case 221E (64.601[2991751000]) - BUCKET WITH TEETH 1,0M3 X 2100-M.Z (82) - FRONT LOADER & BUCKET

Схема запчастей Case 221E - (64.601[2991751000]) - BUCKET WITH TEETH 1,0M3 X 2100-M.Z (82) - FRONT LOADER & BUCKET
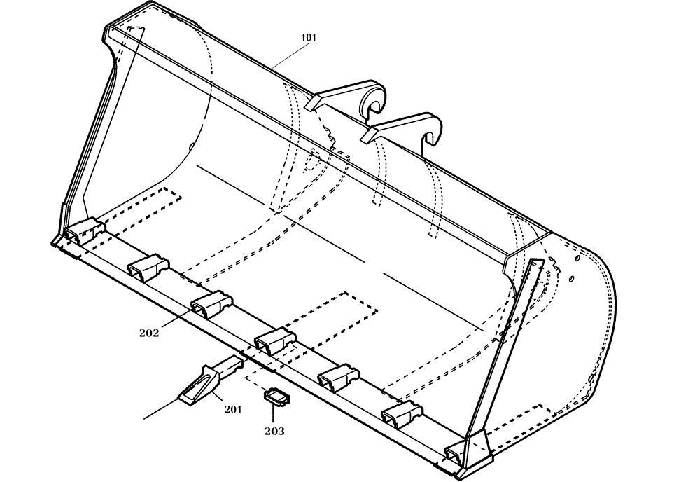
202
201
101
203
FIT
1:1
100%

Артикул

Название

Примечание

Количество

1

2840508

SHOVEL

BUCKET

1шт.

101

2840253

BUCKET

See Fig 64.190

1шт.

102

1728653

BUCKET TOOTH

1шт.

201

589470

BUCKET TOOTH

7шт.

202

552490

BUCKET TOOTH SHANK

Holder

7шт.

203

1461666

BUCKET TOOTH KEY

Locking Device

7шт.

Выбрано товаров: 6