Запчасти Case 221E (13.230[2987623000]) - INTAKE SYSTEM, INSTALLATION (10) - ENGINE

Схема запчастей Case 221E - (13.230[2987623000]) - INTAKE SYSTEM, INSTALLATION (10) - ENGINE
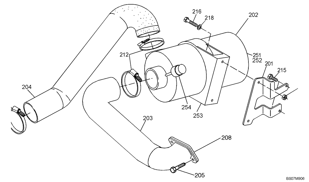
252
212
201
205
216
254
251
208
204
215
202
253
218
203
FIT
1:1
100%

Артикул

Название

Примечание

Количество

201

4552049

BRACKET

1шт.

202

BER4552009

AIR CLEANER

Air Filter, Incl. 251-254, Filter

1шт.

203

6551514

AIR INTAKE TUBE,316 mm Length

Replaces 4552108

1шт.

204

2813170

SUCTION PIPE

Suction, Replaces 422298A1

1шт.

205

57013

BOLT,Hex, M8 x 20mm, Cl 8.8

2шт.

208

1471715

GASKET

Replaces 4552156

1шт.

212

900537

HOSE CLAMP

Replaces 3219245R1

3шт.

215

43127

BOLT,Hex, M8 x 1.25 x 25mm, Cl 8.8

Replaces 614-8025

2шт.

216

16044024

BOLT,Hex, M8 x 1.25 x 40mm, Cl 8.8

Replaces 814-8040

2шт.

218

62543

WASHER

Replaces 420222A1

2шт.

220

16104414

LOCK NUT,M8 x 1.25

Replaces 832-10408

2шт.

251

2479829

AIR CLEANER

Incl 251A,251B

1шт.

251a

47135972

ELEMENT

Outer primary

1шт.

Valid with 121D-SMALL, 121E-COMPACT, 121E-SMALL, 221D-SMALL, 221E-COMPACT, 221E-SMALL Models

1шт.

251b

47135975

ELEMENT

Inner secondary

1шт.

Valid with 121D-SMALL, 121E-COMPACT, 121E-SMALL, 221D-SMALL, 221E-COMPACT, 221E-SMALL Models

1шт.

252

2479832

HOUSING

Inner tube for the inner filter, Replaces 420543A1

1шт.

253

315052A1

BRACKET

Replaces 420545A1

1шт.

254

1709750

INDICATOR

Replaces 420551A1

1шт.

Выбрано товаров: 19