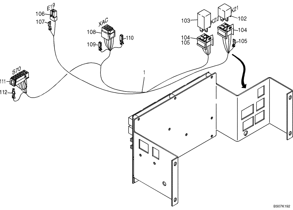
Запчасти Case 221E (32.273[2990471000]) - AIR CONDITION CABLE HARNESS (55) - ELECTRICAL SYSTEMS

Схема запчастей Case 221E - (32.273[2990471000]) - AIR CONDITION CABLE HARNESS (55) - ELECTRICAL SYSTEMS
103
106
107
112
105
104
102
108
110
109
111
1
105
104
FIT
1:1
100%

Артикул

Название

Примечание

Количество

1

3004865

WIRE HARNESS

Incl. 102-112

1шт.

102

2930083

RELAY

1шт.

103

6911939

FUSE HOLDER

1шт.

104

2930076

SOCKET

Relay

2шт.

105

2978339

TERMINAL

PLUG-IN SLEEVE DIN 46247-6,3X2,5-MS

10шт.

106

215027

HOUSING

1шт.

107

1983947

TERMINAL,0.5 - 1.5 mm2

Replaces 421051A1

2шт.

108

2929778

MULTIPOLE CONNECTOR,9 Pole

BUSH HOUSING MCP 9-POL. 8-968971-1 AMP

1шт.

109

2929772

CONTACT HOUSING

CONTACT SLEEVE 0,5-1,0 1-968849-1 AMP

5шт.

110

2929773

CONTACT HOUSING

CONTACT SLEEVE 1,0-2,5 1-968851-1 AMP

3шт.

111

2186736

COVER

1шт.

112

2479372

CONTACT

STANDARD-TIMER 1,5-2,5 927834-2 AMP

4шт.

Выбрано товаров: 12