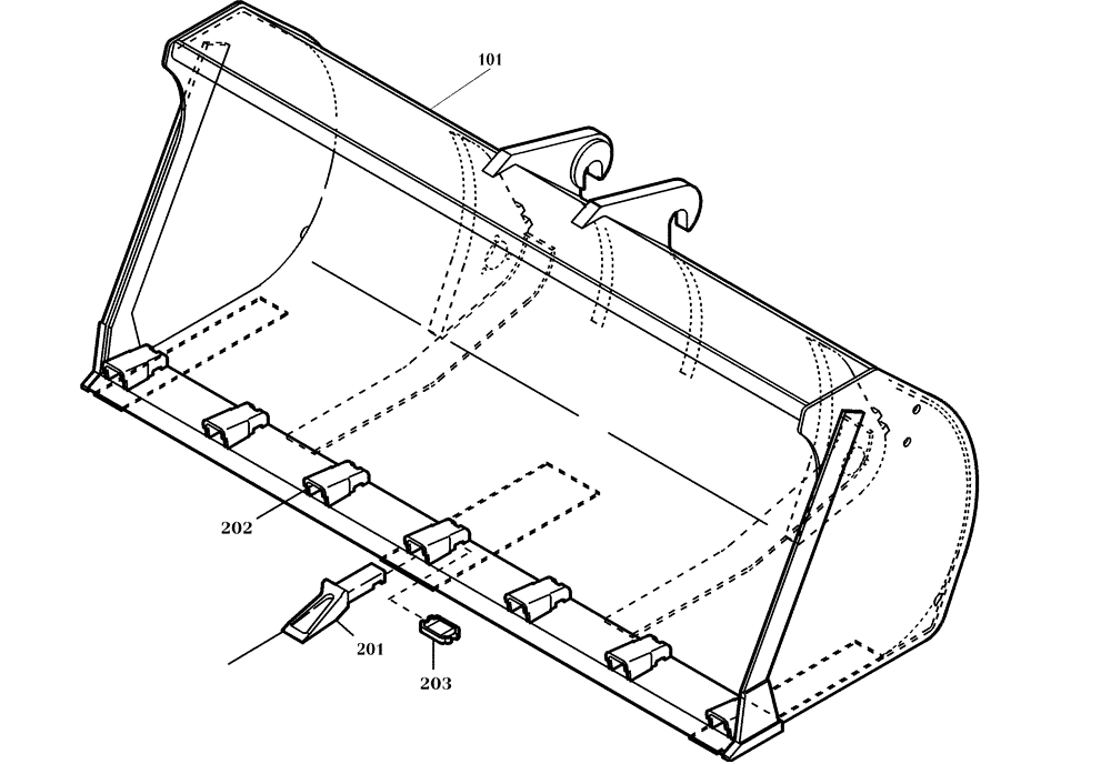
Запчасти Case 321E (64.600[2991763000]) - BUCKET WITH TEETH 1,1M3 X 2100-M.Z (82) - FRONT LOADER & BUCKET

Схема запчастей Case 321E - (64.600[2991763000]) - BUCKET WITH TEETH 1,1M3 X 2100-M.Z (82) - FRONT LOADER & BUCKET
201
202
203
101
FIT
1:1
100%

Артикул

Название

Примечание

Количество

1

2840526

BUCKET

BUCKET Incl 101-203

1шт.

101

2840254

BUCKET

See Fig 64.192

1шт.

102

1728653

BUCKET TOOTH

Incl 201-203, Replaces 421892A1

1шт.

201

589470

BUCKET TOOTH

Replaces 421524A1

7шт.

202

552490

BUCKET TOOTH SHANK

Tooth Replaces 421522A1

7шт.

203

1461666

BUCKET TOOTH KEY

Replaces 421523A1

7шт.

Выбрано товаров: 0