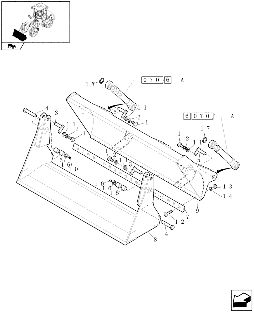
Запчасти Case 321E (082/01[01]) - 4X1 STANDARD BUCKET (1M³) X 2100MM (09) - LOADER/BACKHOE

Схема запчастей Case 321E - (082/01[01]) - 4X1 STANDARD BUCKET (1M³) X 2100MM (09) - LOADER/BACKHOE
4
13
2
16
3
070/ a
2
6
2
3
7
10
11
6
12
070/ a
11
16
1
9
1
17
home
5
11
8
11
20
14
17
1
10
15
5
1
4
15
2
FIT
1:1
100%

Артикул

Название

Примечание

Количество

1

56656

BOLT,Hex, M10 x 20mm, Cl 8.8

4шт.

2

2981701

WASHER,10.5mm ID x 20mm OD x 2mm Thk

4шт.

3

6559796

PIN

2шт.

4

6559798

PIN

2шт.

5

6559797

PIN

2шт.

6

6559717

BUCKET CYLINDER

Assy

2шт.

7

6559794

BLADE

1шт.

8

6559776

FLAP

1шт.

9

6559788

WALL

1шт.

10

10528

LUBE NIPPLE

2шт.

11

8403763

WASHER

4шт.

12

650908

HEX SOC SCREW,Flat Hd, M16 x 50mm, Cl 8.8

10шт.

13

100020

NUT,M16 x 2.0, Cl 8

10шт.

14

8403766

WASHER

10шт.

15

6559799

SLEEVE

4шт.

16

2929977

SNAP RING

2шт.

17

6559718

SEAL

2шт.

Выбрано товаров: 17