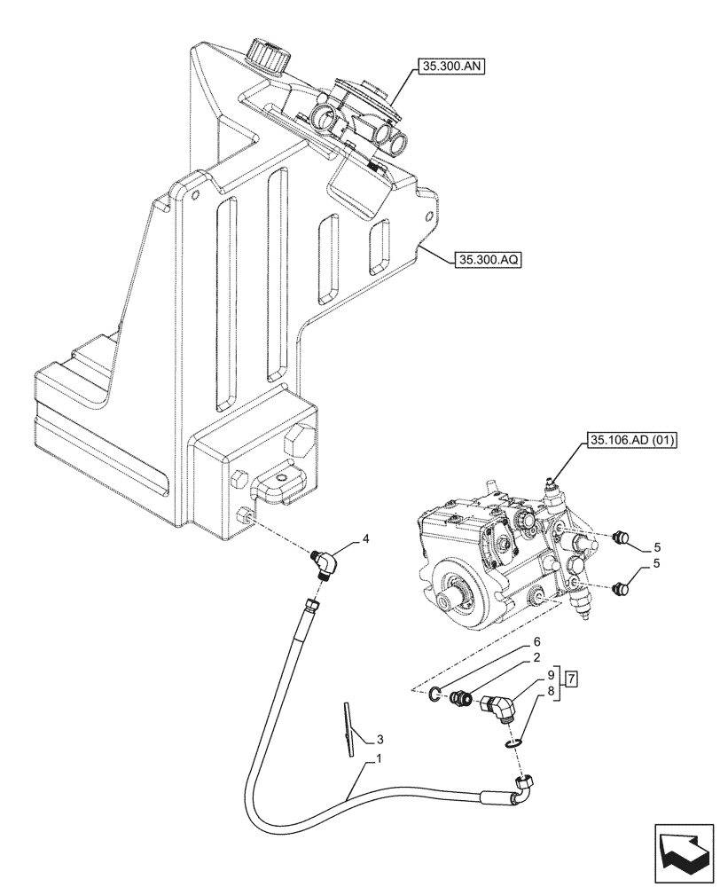
Запчасти Case 21F (35.300.AD[02A]) - HYDROSTATIC PUMP, TANK, LINE - BEGIN SN NEHP00255 (35) - HYDRAULIC SYSTEMS
35.300.aq
8
5
7
5
3
9
2
6
1
4
35.300.an
35.106.ad (01)
FIT
1:1
100%
№
Артикул
Название
Примечание
Количество
1
47606212
HYDRAULIC HOSE
Ride Control
1шт.
2
8500468
VALVE, CHECK
1шт.
3
4982514
CABLE TIE,188mm L
1шт.
4
87530402
ELBOW
1шт.
5
2739719
COUPLING
2шт.
6
87306949
RING
1шт.
9
NSS
NOT SOLD SEPARAT
Elbow, Incl in 7
1шт.
Выбрано товаров: 0