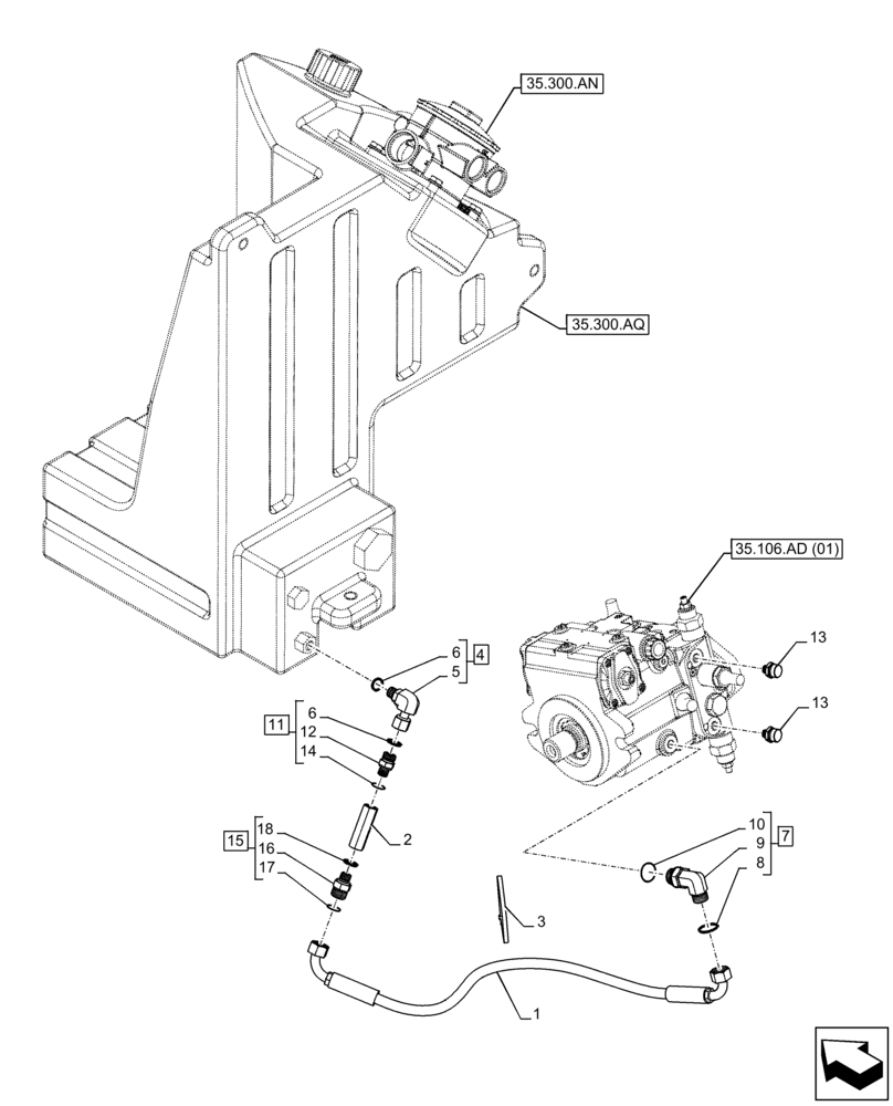
Запчасти Case 221F (35.300.AD[02]) - HYDROSTATIC PUMP, TANK, LINE - END SN NEHP00254 (35) - HYDRAULIC SYSTEMS

Схема запчастей Case 221F - (35.300.AD[02]) - HYDROSTATIC PUMP, TANK, LINE - END SN NEHP00254 (35) - HYDRAULIC SYSTEMS
3
6
13
1
35.300.an
16
35.106.ad (01)
5
13
11
35.300.aq
15
10
18
12
9
6
8
17
7
2
14
4
FIT
1:1
100%

Артикул

Название

Примечание

Количество

1

47449725

HYDRAULIC HOSE

Hydrostatic Pump to Oil Tank

1шт.

2

47482332

VALVE

1шт.

3

4982514

CABLE TIE,188mm L

1шт.

4

201-322

ELBOW,90 Degree Elbow, 11/16" - 16 Female ORFS x 9/16" - 18 Male ORB

ASSY, Incl 5, 6 (Qty 1)

1шт.

5

NSS

NOT SOLD SEPARAT

Elbow, Incl in 4

1шт.

6

9993141

O-RING,0.07" Thk x 0.364" ID, -12, Cl 6, 90 Duro

2шт.

7

87670188

HYD CONNECTOR

ASSY, Incl 8 - 10

1шт.

8

5185511

O-RING,1.78mm Thk x 12.42mm ID, 85 Duro

1шт.

9

NSS

NOT SOLD SEPARAT

Elbow, Incl in 7

1шт.

10

82016732

SEAL,19.6mm ID x 24.3mm OD x 1.5mm Thk

1шт.

11

47368443

HYD CONNECTOR

ASSY, Incl 6 (Qty 1), 12, 14

1шт.

12

NSS

NOT SOLD SEPARAT

Connector, Incl in 11

1шт.

13

2739719

COUPLING

2шт.

14

82019811

SEAL,11.6mm ID x 16.5mm OD x 1.5mm Thk

1шт.

15

76041699

HYD CONNECTOR

ASSY, Incl 16 - 18

1шт.

16

NSS

NOT SOLD SEPARAT

Connector, Incl in 15

1шт.

17

82019812

SEAL,13.8mm ID x 8.9mm OD x 1.5mm Thk

1шт.

18

9992298

O-RING,0.07" Thk x 0.489" ID, -14, Cl 6, 90 Duro

1шт.

Выбрано товаров: 18