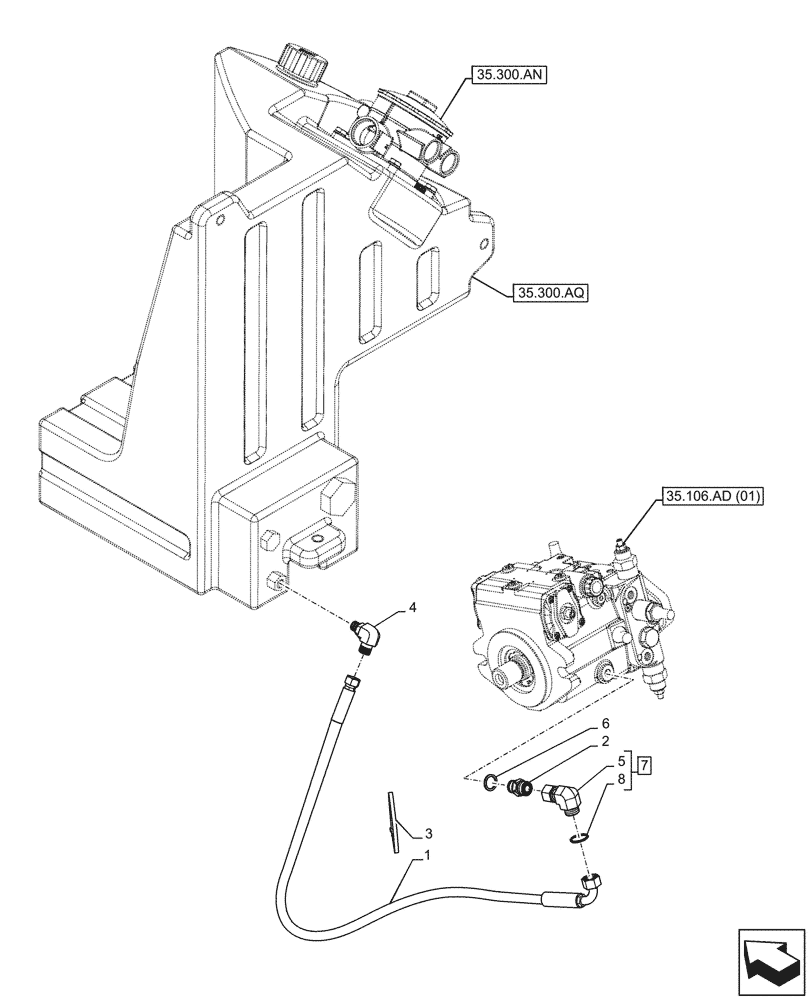
Запчасти Case 221F (35.300.AD[09]) - VAR - 732001, 732002, 734647, 734648 - HYDROSTATIC PUMP, TANK, LINE (35) - HYDRAULIC SYSTEMS

Схема запчастей Case 221F - (35.300.AD[09]) - VAR - 732001, 732002, 734647, 734648 - HYDROSTATIC PUMP, TANK, LINE (35) - HYDRAULIC SYSTEMS
35.300.aq
4
5
7
6
3
2
8
1
35.300.an
35.106.ad (01)
FIT
1:1
100%

Артикул

Название

Примечание

Количество

1

47606212

HYDRAULIC HOSE

Ride Control

1шт.

2

8500468

VALVE, CHECK

1шт.

3

4982514

CABLE TIE,188mm L

1шт.

4

87530402

ELBOW

1шт.

5

NSS

NOT SOLD SEPARAT

Elbow, Incl in 7

1шт.

6

87306949

RING

1шт.

7

84989393

ELBOW,90 Degree, 1"-14 ORFS x 1"-14 Fem Sw

ASSY, Incl 5, 8

1шт.

8

9992069

O-RING,0.07" Thk x 0.614" ID, -16, Cl 6, 90 Duro

1шт.

Выбрано товаров: 8