Запчасти Case 440 (66) - SIDE SHIFTER ATTACHMENT HYDRAULICS, 21 FOOT 6 INCH MAST

Схема запчастей Case 440 - (66) - SIDE SHIFTER ATTACHMENT HYDRAULICS, 21 FOOT 6 INCH MAST
FIT
1:1
100%

Артикул

Название

Примечание

Количество

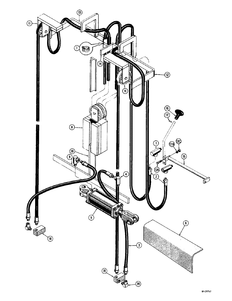
1

D24170

X

UNION - angle, top and bottom control valve ports

2шт.

2

D24300

HOSE - control valve to plate (27'8" long)

2шт.

3

D24304

HOSE

- plate to cylinder (41-1/2" long)

2шт.

D26362

CYLINDER AND GUARD ASSEMBLY

1шт.

4

D24312

X

UNION - adapter, swivel (Ports in cylinder)

2шт.

5

D24102

CYLINDER - hydraulic, See Figure 46 for breakdown

1шт.

6

D26363

GUARD - cylinder

1шт.

7

214-253

HOSE CLAMP,#10, 0.56" - 1.06", Type F Worm

CLAMP - hose (Worm drive type)

6шт.

8

D24292

COUNTERWEIGHT - hose

1шт.

9

D25652

SUPPORT - counterweight guide, Serial Range: (Welded-mast)

1шт.

10

D24293

GUIDE - counterweight, Serial Range: (Welded-mast)

1шт.

11

D24294

GUIDE - pulley, Serial Range: (Welded-mast)

2шт.

12

D24296

BRACKET - hose, L.H., Serial Range: (Welded-mast)

1шт.

13

D24297

BRACKET - hose, R.H., Serial Range: (Welded-mast)

1шт.

14

D24298

BRACKET - hose, center, Serial Range: (Welded-mast)

1шт.

15

D24288

LEVER

- control (Side shifter attachment)

1шт.

16

D24184

KNOB - control lever

1шт.

17

138-57

LOCK PIN,1/8" x 3/4", Slotted

PIN, 1/8" x 3/4", Slotted

1шт.

17a

413-632

BOLT,Hex, 3/8" - 16 x 2", Gr 5

- 3/8" - 16 NC x 2"

2шт.

17b

92-6

LOCK WASHER,3/8"

2шт.

17c

25-106

NUT,3/8"-16, G5

- hex. (3/8" - 16 NC)

2шт.

18

D28151

BLOCK - hose retaining, R.H. (Welded to lower backing plate)

1шт.

19

D28149

BLOCK - hose retaining, L.H. (Welded to lower backing plate)

1шт.

20

R14868

X

ELBOW - 90 degree street, 1/4" NPT

2шт.

Выбрано товаров: 24