Запчасти Case 580 (08) - MAST AND RELATED PARTS (10-1/2 FOOT) 4000 LB. LIFT CAPACITY, EARLY PRODUCTION (83) - TELESCOPIC SINGLE ARM

Схема запчастей Case 580 - (08) - MAST AND RELATED PARTS (10-1/2 FOOT) 4000 LB. LIFT CAPACITY, EARLY PRODUCTION (83) - TELESCOPIC SINGLE ARM
1
24
36
32
30
9
3
17
35
23
2
29
11
8
41
6
13
46
22
34
31
22
38
44
10
42
12
28
14
7
15
40
20
4
27
45
1
18
26
16
25
2
33
37
39
8
21
43
21
5
19
27
FIT
1:1
100%

Артикул

Название

Примечание

Количество

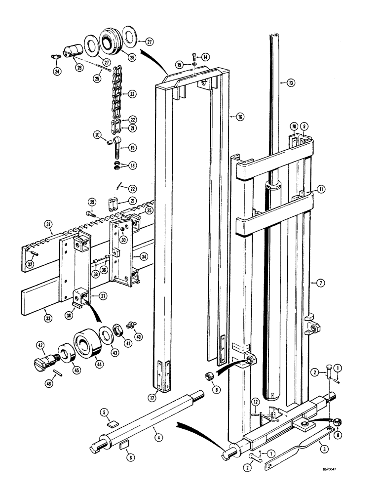
D40697

MAST - complete, 10-1/2' (4000 lb. lift capacity) When stock is exhausted, use D45562 (See Figure 10), Includes: Ref. 1 - 46

2шт.

1

138-142

LOCK PIN,1/4" x 2", Slotted

PIN, 1/4" x 2", Slotted

2шт.

2

D36819

PIN,30.23mm OD x 111.25mm L

- tie bar mounting

2шт.

3

D40839

TIE BAR - outer mast channel

1шт.

4

D40842

BAR

- trunnion

1шт.

5

D40841

LARGE PLATE

BEARING - horizontal

4шт.

6

D40840

LARGE PLATE

BEARING - vertical

4шт.

7

D40838

CHANNEL - outer, Includes: Ref. 8 - 11

1шт.

8

D40843

BUSHING,25.4mm ID x 38.1mm OD x 24.38mm L

- pivotal ball type

3шт.

9

D32555

PAD

PLATE - wear, brass (1/8" x 1-1/4" x 5")

2шт.

10

D27366

WEAR PAD

PLATE - wear, brass (1/8" x 1-1/4" x 7")

4шт.

11

D41505

WEAR PAD

PLATE - wear, brass (3/16" x 1/2" x 4-1/2")

2шт.

12

138-136

LOCK PIN,1/4" x 1 1/4", Slotted

PIN, 1/4" x 1 1/4", Slotted

1шт.

13

D24173

CYLINDER

- hydraulic, lift (3-1/2" I. D. x 63" stroke) Parts list Figure 80

1шт.

14

62-824

HEX SOC SCREW,1/2"-20 x 1 1/2"

SCREW - hex. socket head (1/2" - 20 NF x 1-1/2")

3шт.

15

92-8

LOCK WASHER,1/2"

2шт.

16

D24330

CHANNEL - inner, Includes: Ref. 17

1шт.

17

60972

STRIP

PLATE - wear, brass (1/8" x 1-1/4" x 11")

6шт.

18

25-118

NUT,1/2"-20, G5

- hex. (1/2" - 20 NF)

4шт.

19

60948

EYEBOLT,1/2" - 20 x 4 5/8"

BOLT - eye, chain anchor, Includes: Ref. 20

2шт.

20

D26196

BUSHING

- eye bolt

1шт.

21

D32583

LINK

- connecting, lift chain, Includes: Ref. 22

4шт.

22

132-25

COTTER PIN,3/32" x 5/8"

Pin, Split (Cotter), 3/32" x 5/8"

2шт.

23

D32586

CHAIN - lift. rollerless

2шт.

24

219-53

LUBE NIPPLE,65 Degree Elbow, 3/16" NPTF

FITTING - grease, 67-1/2 degrees (3/16" drive)

2шт.

25

132-99

COTTER PIN,3/16" x 2"

Pin, Split (Cotter), 3/16" x 2"

2шт.

26

60939

PIN

- guide wheel

2шт.

27

60944

THRUST WASHER

- thrust

4шт.

28

D32588

SPROCKET ASSY.

WHEEL - chain guide

2шт.

29

61-828

HEX SOC SCREW,1/2"-13 x 1 3/4"

SCREW - hex. socket head (1/2" - 13 NC x 1-3/4")

16шт.

30

25-148

JAM NUT,Jam, 1/2"-13, G5

- hex, jam (1/2"-13 NC)

16шт.

31

D24324

PLATE

- backing, upper

1шт.

32

138-190

LOCK PIN,7/16" x 2", Slotted

PIN, 7/16" x 2", Slotted

2шт.

33

D24325

LARGE PLATE

PLATE - backing, lower

1шт.

34

D39703

CARRIAGE ASSEMBLY - R.H., Includes: Ref. 35 and 36

1шт.

Carriages must be aligned and drilled at time of installation. Early and late production masts can be distinguished by differences in carriages.

1шт.

35

D41503

BLOCK

WEAR BLOCK - carriage

2шт.

36

D26196

BUSHING

- chain anchor

1шт.

37

D39704

CARRIAGE - L.H., Includes: Ref. 38 and 39

1шт.

Carriages must be aligned and drilled at time of installation. Early and late production masts can be distinguished by differences in carriages.

1шт.

38

D41503

BLOCK

WEAR BLOCK - carriage

2шт.

39

D26196

BUSHING

- chain anchor

1шт.

D39699

CENTER AXLE

AXLE KIT - load roller, Includes: Ref. 40 - 46

4шт.

40

219-13

LUBE NIPPLE,3/16" NPTF

FITTING - straight, grease (3/16" drive)

1шт.

41

D39477

NUT

- special

1шт.

42

NSS

NOT SOLD SEPARAT

AXLE - load roller

1шт.

43

60917

THRUST WASHER

WASHER - thrust

4шт.

44

60915

BEARING

ROLLER - load

4шт.

45

60916

WASHER

- spacer

4шт.

46

138-65

LOCK PIN,1/8" x 1 1/2", Slotted

PIN, 1/8" x 1 1/2", Slotted

4шт.

Выбрано товаров: 50