Запчасти Case 580 (10) - MAST AND RELATED PARTS (10-1/2 FOOT) 4000 LB. CAPACITY, LATE PRODUCTION (83) - TELESCOPIC SINGLE ARM

Схема запчастей Case 580 - (10) - MAST AND RELATED PARTS (10-1/2 FOOT) 4000 LB. CAPACITY, LATE PRODUCTION (83) - TELESCOPIC SINGLE ARM
11
27
32
12
15
42
3a
39
27
3b
6
34
8
3
40
23
9
1
35
19
13
30
31
25
18
26
14
22
16
29
41
20
2
38
23
21
28
24
5
1
33
2
3c
10
21
43
36
37
17
8
4
1
FIT
1:1
100%

Артикул

Название

Примечание

Количество

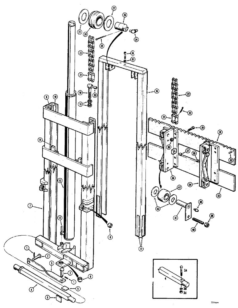
D45562

MAST - complete, 10-1/2' (4000 lb. capacity), Includes: Ref. 1 - 43

1шт.

1

138-2039

PIN,1/4" x 2", Coiled

(used with D40839 tie bar) 1/4" x 2", Coiled

2шт.

2

D36819

PIN,30.23mm OD x 111.25mm L

- tie bar mounting (Used with D40839 tie bar)

2шт.

3

D40839

TIE BAR - outer mast channel (Not used when refs 3A, 3B and 3C are used)

1шт.

3a

13-872

BOLT,Hex, 1/2" - 13 x 4-1/2", Gr 5

(If used) Hex, 1/2"-13 x 4 1/2", G5

1шт.

3b

92-8

LOCK WASHER,1/2"

1шт.

3c

25-108

NUT,1/2"-13, G5

- hex. (1/2" - 13 NC)

1шт.

4

D40842

BAR

- trunnion

1шт.

5

D40841

LARGE PLATE

BEARING - horizontal

4шт.

6

D40840

LARGE PLATE

BEARING - vertical

4шт.

7

D47887

CHANNEL - outer, Includes: Ref. 8 - 11

1шт.

8

D40843

BUSHING,25.4mm ID x 38.1mm OD x 24.38mm L

- pivotal ball type

3шт.

9

D32555

PAD

PLATE - wear, brass (1/8" x 1-1/4" x 5")

2шт.

10

D27366

WEAR PAD

PLATE - wear, brass (1/8" x 1-1/4" x 7")

4шт.

11

D47895

WEAR PAD

PLATE - wear, bronze (5/16" x 1/2" x 4-1/2")

2шт.

12

138-2007

PIN,1/4" x 1 1/4", Coiled

1шт.

13

D24173

CYLINDER

- hydraulic, lift (3-1/2" I.D. x 63" stroke) Parts list Figure 80

1шт.

14

62-824

HEX SOC SCREW,1/2"-20 x 1 1/2"

SCREW - hex. socket head (1/2" - 20 NF x 1-1/2")

2шт.

15

92-8

LOCK WASHER,1/2"

2шт.

16

D47888

CHANNEL - inner, Includes: Ref. 17

1шт.

17

60972

STRIP

PLATE - wear. brass (1/8" x 1-1/4" x 11")

6шт.

18

25-118

NUT,1/2"-20, G5

- hex. (1/2" - 20 NF)

4шт.

19

60948

EYEBOLT,1/2" - 20 x 4 5/8"

BOLT - eye, chain anchor, Includes: Ref. 20

2шт.

20

D26196

BUSHING

- eye bolt

1шт.

21

D32583

LINK

- connecting, lift chain, Includes: Ref. 22

4шт.

22

132-25

COTTER PIN,3/32" x 5/8"

Pin, Split (Cotter), 3/32" x 5/8"

2шт.

23

D32586

CHAIN - lift, rollerless

2шт.

24

219-53

LUBE NIPPLE,65 Degree Elbow, 3/16" NPTF

FITTING - grease, 67-1/2 degrees (3/16" drive)

2шт.

25

132-99

COTTER PIN,3/16" x 2"

Pin, Split (Cotter), 3/16" x 2"

2шт.

26

NLS

NO LONGER SERVICED

- guide wheel

2шт.

27

60944

THRUST WASHER

- thrust

4шт.

28

D32588

SPROCKET ASSY.

WHEEL - chain guide

2шт.

29

61-828

HEX SOC SCREW,1/2"-13 x 1 3/4"

SCREW - hex. socket head (1/2" - 13 NC x 1-3/4")

16шт.

30

25-148

JAM NUT,Jam, 1/2"-13, G5

- hex, jam (1/2"-13 NC)

16шт.

31

D47875

LARGE PLATE

PLATE - backing, upper

1шт.

32

138-2050

PIN,7/16" x 2", Coiled

2шт.

33

D47876

LARGE PLATE

PLATE - backing, lower

1шт.

34

D47901

SUPPORT ASSY.

CARRIAGE ASSEMBLY - R.H., Includes: Ref. 35

1шт.

Carriages must be aligned and drilled at time of installation. Early and late production masts can be distinguished by differences in carriages.

1шт.

35

D26196

BUSHING

- chain anchor

1шт.

36

D47902

SUPPORT ASSY.

CARRIAGE ASSEMBLY - L.H., Includes: Ref. 37

1шт.

Carriages must be aligned and drilled at time of installation. Early and late production masts can be distinguished by differences in carriages.

1шт.

37

D26196

BUSHING

- chain anchor

1шт.

38

219-13

LUBE NIPPLE,3/16" NPTF

FITTING - straight, grease (3/16" drive)

4шт.

39

25-148

JAM NUT,Jam, 1/2"-13, G5

- hex, jam (1/2"-13 NC)

4шт.

40

178-693

SET SCREW,Hex Soc, 1/2"-13 x 3"

SHSS - 1/2" - 13 NC 3"

4шт.

41

D47899

AXLE

- load roller

4шт.

42

D47894

ROLLER BEARING,25.39mm ID x 63.5mm OD x 32.26mm W

ROLLER - load

4шт.

43

60917

THRUST WASHER

WASHER - thrust

8шт.

Выбрано товаров: 49