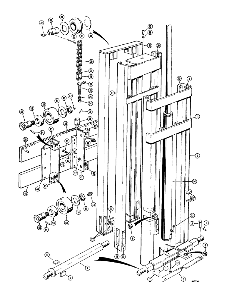
Запчасти Case 580 (16) - MAST AND RELATED PARTS (21-1/2 FOOT) 4000 LB. LIFT CAPACITY, EARLY PRODUCTION (83) - TELESCOPIC SINGLE ARM

Схема запчастей Case 580 - (16) - MAST AND RELATED PARTS (21-1/2 FOOT) 4000 LB. LIFT CAPACITY, EARLY PRODUCTION (83) - TELESCOPIC SINGLE ARM
54
1
3
53
21
49
45
47
4
54
27
12
42
20
17
10
43
31
44
45
32
35
19
46
2
24
5
29
51
28
37
7
18
14
48
53
33
36
8
22
49
50
34
8
34
29
9
52
6
16
51
30
42
28
23
40
1
39
11
41
2
25
15
38
48
13
52
26
50
FIT
1:1
100%

Артикул

Название

Примечание

Количество

D40700

MAST - complete, 21-1/2' (4000 lb. lift capacity) When stock is exhausted, use D45564 (See Figure 20), Includes: Ref. 1 - 46

1шт.

1

138-142

LOCK PIN,1/4" x 2", Slotted

PIN, 1/4" x 2", Slotted

2шт.

2

D36819

PIN,30.23mm OD x 111.25mm L

- tie bar mounting

2шт.

3

D40839

TIE BAR - outer mast channel

1шт.

4

D40842

BAR

- trunnion

1шт.

5

D40841

LARGE PLATE

BEARING - horizontal

4шт.

6

D40840

LARGE PLATE

BEARING - vertical

4шт.

7

D40846

CHANNEL - outer, Includes: Ref. 8 - 11

1шт.

8

D40843

BUSHING,25.4mm ID x 38.1mm OD x 24.38mm L

- pivotal ball type

3шт.

9

D32555

PAD

PLATE - wear, brass (1/8" x 1-1/4" x 5")

2шт.

10

D27363

WEAR PAD

PLATE - wear, brass (3/16" x 1-1/4" x 6"

4шт.

11

D41505

WEAR PAD

PLATE - wear, brass (3/16" x 1/2" x 4-1/2")

2шт.

12

113-353

BOLT,Hex, 7/16" - 14 x 6", Gr 5

7/16"-14 x 6", G5

1шт.

13

131-8

LOCK NUT,7/16"-14, GB

NUT, LOCK, 7/16"-14, GB

1шт.

14

D40847

CYLINDER

- hydraulic, lift (4" I.D. x 85-3/16" stroke) Parts list Figure 82

1шт.

15

62-824

HEX SOC SCREW,1/2"-20 x 1 1/2"

SCREW - hex. socket head (1/2" - 20 NF x 1-1/2")

2шт.

16

92-8

LOCK WASHER,1/2"

2шт.

17

D24334

CHANNEL

- center, Includes: Ref. 18 - 20

1шт.

18

D27362

WEAR PAD

PLATE - wear, brass (1/8" x 1-1/4" x 10")

2шт.

19

D27365

PAD

PLATE - wear, brass (3/16" x 1-1/4" x 10")

4шт.

20

D27364

WEAR PAD

PLATE - wear, brass (1/8" x 1-1/4" x 6")

6шт.

21

D24335

CHANNEL

- inner, Includes: Ref. 22 and 23

1шт.

22

D27362

WEAR PAD

PLATE - wear, brass (1/8" x 1-1/4" x 10")

6шт.

23

D26196

BUSHING

- chain anchor

2шт.

24

25-1512

JAM NUT,Jam, 3/4"-10, G5

- hex., jam (3/4" - 16 NF)

4шт.

25

25-1112

NUT,3/4"-16, G5

- hex. (3/4" - 16 NF)

4шт.

26

D26200

BOLT

BOLT - eye, chain anchor, Includes: Ref. 27

4шт.

27

D26196

BUSHING

- eye bolt, chain anchor

1шт.

28

D32583

LINK

- connecting, lift chain, Includes: Ref. 29

8шт.

29

132-25

COTTER PIN,3/32" x 5/8"

Pin, Split (Cotter), 3/32" x 5/8"

2шт.

30

D34447

CHAIN (AG)

CHAIN - outer channel to inner channel, 121 links

2шт.

D34446

CHAIN

- center channel to carriage, 113 links

2шт.

31

219-53

LUBE NIPPLE,65 Degree Elbow, 3/16" NPTF

FITTING - grease, 67-1/2 degrees (3/16" drive)

4шт.

32

132-99

COTTER PIN,3/16" x 2"

Pin, Split (Cotter), 3/16" x 2"

4шт.

33

60939

PIN

- guide wheel

4шт.

34

60944

THRUST WASHER

- thrust

8шт.

35

D32588

SPROCKET ASSY.

WHEEL - chain guide

4шт.

36

61-828

HEX SOC SCREW,1/2"-13 x 1 3/4"

SCREW - hex. socket head, 1/2" - 13 NC x 1-3/4"

16шт.

37

25-148

JAM NUT,Jam, 1/2"-13, G5

- hex, jam (1/2"-13 NC)

16шт.

38

D24324

PLATE

- backing, upper

1шт.

39

138-190

LOCK PIN,7/16" x 2", Slotted

PIN, 7/16" x 2", Slotted

2шт.

40

D24325

LARGE PLATE

PLATE - backing, lower

1шт.

41

D39697

CARRIAGE ASSEMBLY - R.H., Includes: Ref. 42 and 43

1шт.

Carriages must be aligned and drilled at time of installation. Early and late production masts can be distinguished by differences in carriages.

1шт.

42

D41503

BLOCK

- wear

2шт.

43

D26196

BUSHING

- chain anchor

1шт.

44

D39698

CARRIAGE ASSEMBLY - L.H., Includes: Ref. 45 and 46

1шт.

Carriages must be aligned and drilled at time of installation. Early and late production masts can be distinguished by differences in carriages.

1шт.

45

D41503

BLOCK

- wear

2шт.

46

D26196

BUSHING

- chain anchor

1шт.

D39699

CENTER AXLE

AXLE KIT - load roller, Includes: Ref. 47 - 54

4шт.

47

211-5

BALL,3/16" Dia

- steel, . 3/16" Dia

1шт.

48

219-13

LUBE NIPPLE,3/16" NPTF

FITTING - straight, grease (3/16" drive)

1шт.

49

D39477

NUT

- special

1шт.

50

NSS

NOT SOLD SEPARAT

AXLE - load roller

1шт.

51

60917

THRUST WASHER

WASHER - thrust

4шт.

52

60915

BEARING

ROLLER - load

4шт.

53

60916

WASHER

- spacer

4шт.

54

138-65

LOCK PIN,1/8" x 1 1/2", Slotted

PIN, 1/8" x 1 1/2", Slotted

4шт.

Выбрано товаров: 59