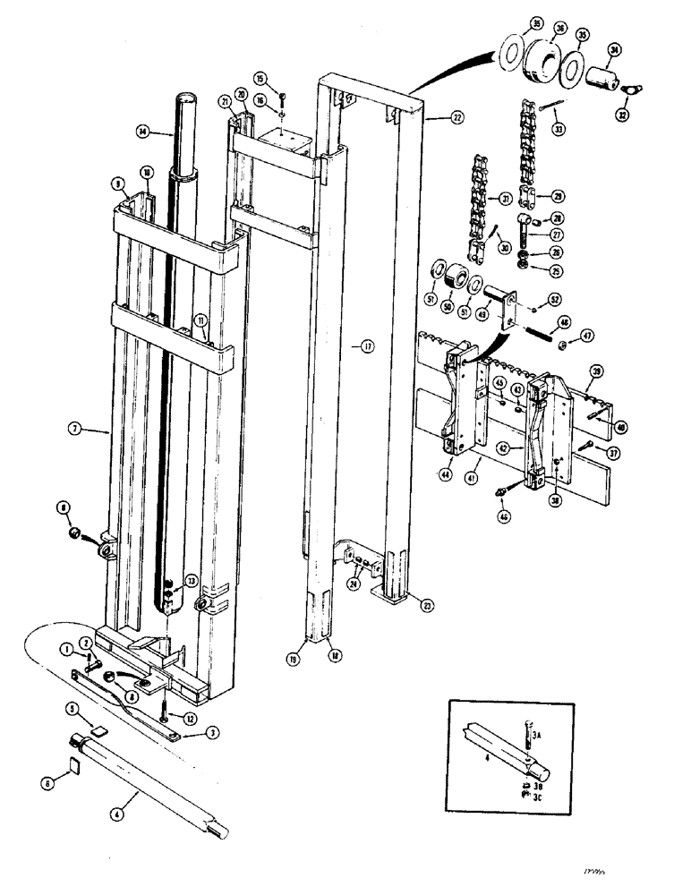
Запчасти Case 580 (20) - MAST AND RELATED PARTS (21-1/2 FOOT) 4000 LB. LIFT CAPACITY, LATE PRODUCTION (83) - TELESCOPIC SINGLE ARM

Схема запчастей Case 580 - (20) - MAST AND RELATED PARTS (21-1/2 FOOT) 4000 LB. LIFT CAPACITY, LATE PRODUCTION (83) - TELESCOPIC SINGLE ARM
42
4
52
35
11
46
1
32
3
34
31
21
35
12
44
37
51
4
43
8
9
19
3c
45
27
33
7
39
28
23
2
16
41
10
51
50
14
8
49
13
3a
30
15
22
38
26
24
6
29
36
40
48
17
18
25
3b
5
47
20
FIT
1:1
100%

Артикул

Название

Примечание

Количество

D45564

MAST - complete, 21-1/2' (4000 lb. lift capacity), Includes: Ref. 1 - 52

1шт.

1

138-2039

PIN,1/4" x 2", Coiled

(used with D40839 tie bar) 1/4" x 2", Coiled

2шт.

2

D36819

PIN,30.23mm OD x 111.25mm L

- tie bar mounting (Used with D40839 tie bar)

2шт.

3

D40839

TIE BAR - outer mast channel (Not used when refs 3A, 3B and 3C are used)

1шт.

3a

13-872

BOLT,Hex, 1/2" - 13 x 4-1/2", Gr 5

(If used) Hex, 1/2"-13 x 4 1/2", G5

1шт.

3b

92-8

LOCK WASHER,1/2"

1шт.

3c

25-108

NUT,1/2"-13, G5

- hex. (1/2" - 13 NC)

1шт.

4

D40842

BAR

- trunnion

1шт.

5

D40841

LARGE PLATE

BEARING - horizontal

4шт.

6

D40840

LARGE PLATE

BEARING - vertical

4шт.

7

D47891

CHANNEL - outer, Includes: Ref. 8 - 11

1шт.

8

D40843

BUSHING,25.4mm ID x 38.1mm OD x 24.38mm L

- pivotal ball type

3шт.

9

D32555

PAD

PLATE - wear, brass (1/8" x 1-1/4" x 5")

2шт.

10

D27363

WEAR PAD

PLATE - wear, brass (3/16" x 1-1/4 x 6")

4шт.

11

D47895

WEAR PAD

PLATE - wear, bronze (5/16" x 1/2" x 4-1/2")

2шт.

12

113-353

BOLT,Hex, 7/16" - 14 x 6", Gr 5

7/16"-14 x 6", G5

1шт.

13

131-8

LOCK NUT,7/16"-14, GB

NUT, LOCK, 7/16"-14, GB

1шт.

14

D40847

CYLINDER

- hydraulic, lift (4" I.D. x 85-3/16" stoke) Parts list Figure 82

1шт.

15

62-824

HEX SOC SCREW,1/2"-20 x 1 1/2"

SCREW - hex. socket head (1/2" - 20 NF x 1-1/2")

2шт.

16

92-8

LOCK WASHER,1/2"

2шт.

17

D47892

CHANNEL

- center, Includes: Ref. 18 - 21

1шт.

18

D27362

WEAR PAD

PLATE - wear, brass (1/8" x 1-1/4" x 10")

2шт.

19

D27365

PAD

PLATE - wear, brass (3/16" x 1-1/4" x 10")

4шт.

20

D27364

WEAR PAD

PLATE - wear, brass (1/8" x 1-1/4" x 6")

4шт.

21

D32555

PAD

PLATE - wear, brass (1/8" x 1-1/4" x 5")

2шт.

22

D47893

CHANNEL - inner, Includes: Ref. 23 and 24

1шт.

23

60972

STRIP

PLATE - wear, brass (1/8" x 1-1/4" x 11")

6шт.

24

D26196

BUSHING

- chain anchor

2шт.

25

25-1512

JAM NUT,Jam, 3/4"-10, G5

- hex., jam (3/4" - 16 NF)

4шт.

26

25-1112

NUT,3/4"-16, G5

- hex. (3/4" - 16 NF)

4шт.

27

D26200

BOLT

BOLT - eye, chain anchor, Includes: Ref. 28

4шт.

28

D26196

BUSHING

- eye bolt, chain anchor

1шт.

29

D32583

LINK

- connecting, lift chain, Includes: Ref. 30

8шт.

30

132-25

COTTER PIN,3/32" x 5/8"

Pin, Split (Cotter), 3/32" x 5/8"

2шт.

31

D34447

CHAIN (AG)

CHAIN - outer channel to inner channel, 121 links

2шт.

D34446

CHAIN

- center channel to carriage, 113 links

2шт.

32

219-53

LUBE NIPPLE,65 Degree Elbow, 3/16" NPTF

FITTING - grease, 67-1/2 degrees (3/16" drive)

4шт.

33

132-99

COTTER PIN,3/16" x 2"

Pin, Split (Cotter), 3/16" x 2"

4шт.

34

NLS

NO LONGER SERVICED

- guide wheel

4шт.

35

60944

THRUST WASHER

- thrust

8шт.

36

D32588

SPROCKET ASSY.

WHEEL - guide

4шт.

37

61-828

HEX SOC SCREW,1/2"-13 x 1 3/4"

SCREW - hex. socket head, 1/2" - 13 NC x 1-3/4"

16шт.

38

25-148

JAM NUT,Jam, 1/2"-13, G5

- hex, jam (1/2"-13 NC)

16шт.

39

D47875

LARGE PLATE

PLATE - backing, upper

1шт.

40

138-2050

PIN,7/16" x 2", Coiled

2шт.

41

D47876

LARGE PLATE

PLATE - backing, lower

1шт.

42

D47877

SHEET

CARRIAGE ASSEMBLY - R.H., Includes: Ref. 43

1шт.

Carriages must be aligned and drilled at time of installation. Early and late production masts can be distinguished by differences in carriages.

1шт.

43

D26196

BUSHING

- chain anchor

1шт.

44

D47878

SUPPORT ASSY.

CARRIAGE ASSEMBLY - L.H., Includes: Ref. 45

1шт.

Carriages must be aligned and drilled at time of installation. Early and late production masts can be distinguished by differences in carriages.

1шт.

45

D26196

BUSHING

- chain anchor

1шт.

46

219-13

LUBE NIPPLE,3/16" NPTF

FITTING - straight, grease (3/16" drive)

4шт.

47

25-148

JAM NUT,Jam, 1/2"-13, G5

- hex, jam (1/2"-13 NC)

4шт.

48

178-693

SET SCREW,Hex Soc, 1/2"-13 x 3"

SHSS - 1/2" - 13 NC x 3"

4шт.

49

D47899

AXLE

- load roller

4шт.

50

D47894

ROLLER BEARING,25.39mm ID x 63.5mm OD x 32.26mm W

ROLLER - load

4шт.

51

60917

THRUST WASHER

WASHER - thrust, Includes: Ref. 52

8шт.

52

211-5

BALL,3/16" Dia

- steel, . 3/16" Dia

4шт.

Выбрано товаров: 59