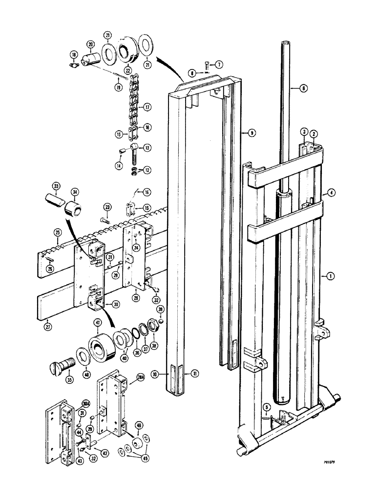
Запчасти Case 580 (22) - MAST AND RELATED PARTS (12 FOOT) 5000 LB. LIFT CAPACITY (83) - TELESCOPIC SINGLE ARM

Схема запчастей Case 580 - (22) - MAST AND RELATED PARTS (12 FOOT) 5000 LB. LIFT CAPACITY (83) - TELESCOPIC SINGLE ARM
42
19
34
12
40
46
4
16
21
41
15
1
28
31
26
31
3
24
10
20
38
13
6
39
8
7
11
44
33
14
32
29
15
2
30a
37
28a
22
23
30
43
29
16
17
18
35
25
21
36
45
5
9
32
40
27
FIT
1:1
100%

Артикул

Название

Примечание

Количество

D40702

MAST - complete, 12' (5000 lb. lift capacity), Includes: Ref. 1 - 46

1шт.

1

D41195

CHANNEL - outer, Includes: Ref. 2 - 4

1шт.

2

D32555

PAD

PLATE - wear, brass (1/8" x 1-1/4" x 5")

2шт.

3

D27365

PAD

PLATE - wear, brass (3/16" x 1-1/4" x 10")

4шт.

4

D41505

WEAR PAD

PLATE - wear, brass (3/16" x 1/2" x 4-1/2")

2шт.

5

138-136

LOCK PIN,1/4" x 1 1/4", Slotted

PIN, 1/4" x 1 1/4", Slotted

1шт.

6

D36571

CYLINDER - hydraulic, lift (3-1/2" I.D. x 72" stroke) Parts list Figure 80

1шт.

7

62-832

SCREW - hex. socket head (1/2" - 20 NF x 2")

2шт.

8

92-8

LOCK WASHER,1/2"

2шт.

9

D39480

CHANNEL

- inner, Includes: Ref. 10 and 11

1шт.

10

D27362

WEAR PAD

PLATE - wear, brass (1/8" x 1-1/4" x 10")

2шт.

11

D27365

PAD

PLATE - wear, brass (3/16" x 1-1/4" x 10")

4шт.

12

25-1116

NUT,1"-14, G5

- hex. (1" - 14 NF)

4шт.

13

D36575

EYEBOLT

BOLT - eye, chain anchor, Includes: Ref. 14

2шт.

14

D39476

BUSHING

- eye bolt

1шт.

15

D36579

LINK

- connecting, lift chain (See Figure 28, Ref. 41 and 42, for additional links used with sideshift), Includes: Ref. 16

4шт.

16

132-45

COTTER PIN,1/8" x 5/8"

Pin, Split (Cotter), 1/8" x 5/8"

2шт.

17

D39483

CHAIN (AG)

CHAIN - lift, rollerless

2шт.

18

219-53

LUBE NIPPLE,65 Degree Elbow, 3/16" NPTF

FITTING - grease, 67-1/2 degrees (3/16" drive)

2шт.

19

132-102

COTTER PIN,3/16" x 2 1/2"

Pin, Split (Cotter), 3/16" x 2 1/2"

2шт.

20

D36584

PIN

- guide wheel

2шт.

21

D36582

WASHER

- thrust

4шт.

22

D39482

SUPPORT,1.75" ID x 4.3" OD x 1.51"

WHEEL - chain guide

2шт.

23

61-828

HEX SOC SCREW,1/2"-13 x 1 3/4"

SCREW - hex. socket head (1/2" - 13 NC x 1-3/4")

16шт.

24

25-148

JAM NUT,Jam, 1/2"-13, G5

- hex, jam (1/2"-13 NC)

16шт.

25

D36580

LARGE PLATE

PLATE - backing, upper (See Figure 28, Ref. 34, for backing plate used with sideshift)

1шт.

26

138-190

LOCK PIN,7/16" x 2", Slotted

PIN, 7/16" x 2", Slotted

2шт.

27

D36581

LARGE PLATE

PLATE - backing, lower

1шт.

28

D36587

CARRIAGE - R.H., before mast S/N 11726, Includes: Ref. 29

1шт.

Carriages must be aligned and drilled at time of installation.

1шт.

28a

D52321

SUPPORT ASSY.

CARRIAGE - R.H., mast S/N 11726 and after, Includes: Ref. 29

1шт.

Carriages must be aligned and drilled at time of installation.

1шт.

The (8) 1/2-13 mounting holes must be drilled and tapped at assembly.

1шт.

29

D39476

BUSHING

- D36587 and D52321 carriages

1шт.

30

D36588

CARRIAGE - L.H., before mast S/N 11726, Includes: Ref. 31

1шт.

Carriages must be aligned and drilled at time of installation.

1шт.

30a

D52322

SUPPORT ASSY.

CARRIAGE - L.H., mast S/N 11726 and after, Includes: Ref. 31

1шт.

Carriages must be aligned and drilled at time of installation.

1шт.

The (8) 1/2-13 mounting holes must be drilled and tapped at assembly.

1шт.

31

D39476

BUSHING

- D36588 and D52322 carriages

1шт.

32

219-13

LUBE NIPPLE,3/16" NPTF

FITTING - straight, grease (3/16" drive)

4шт.

33

D36589

PIN,25.4mm OD x 69.85mm L

- side roller

4шт.

34

D36590

ROLLER

- side

4шт.

D36591

KIT

AXLE KIT - load roller, used with D36587 and D36588 carriages only, Includes: Ref. 35 - 39

4шт.

35

NSS

NOT SOLD SEPARAT

AXLE - load roller

1шт.

36

A7892

BEARING, CUP

SEAL - O-ring

1шт.

37

193-15

LOCK WASHER,Ext Tooth, 3/4"

WASHER, LOCK, Ext Tooth, 3/4"

1шт.

38

D39470

NUT - hex., jam (Special)

1шт.

39

NSS

NOT SOLD SEPARAT

BALL - steel, 3/16" dia.

1шт.

40

D36592

WASHER

- thrust, used with D36587 and D36588 carriages only

12шт.

41

D36593

ROLLER

- load, used with D36587 and D36588 carriages only

4шт.

42

D52297

AXLE

- load roller, used with D52321 and D52322 carriages only

4шт.

43

13-816

BOLT,Hex, 1/2" - 13 x 1", Gr 5, Full Thd

4шт.

44

92-8

LOCK WASHER,1/2"

4шт.

45

D52298

WASHER,32.16mm ID x 69.85mm OD x 2.77mm Thk

- thrust, used with D52321 and D52322 carriages only

12шт.

46

D52299

BEARING, ROLLER,31.75mm ID x 76.2mm OD x 32mm W

ROLLER - load, used with D52321 and D52322 carriages only

1шт.

Выбрано товаров: 56