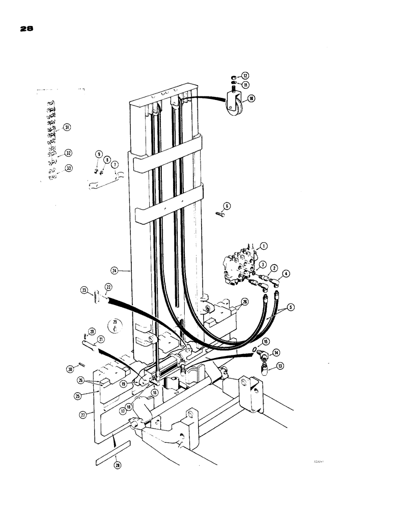
Запчасти Case 584 (28) - SIDE SHIFTER AND RELATED PARTS, (USED WITH 6000 LB. LIFT CAPACITY MAST) (35) - HYDRAULIC SYSTEMS

Схема запчастей Case 584 - (28) - SIDE SHIFTER AND RELATED PARTS, (USED WITH 6000 LB. LIFT CAPACITY MAST) (35) - HYDRAULIC SYSTEMS
31
26
25
13
11
28
22
2
3
6
10
4
29
12
30
20
15
16
14
26
24
17
27
1
21
23
18
8
19
32
33
5
7
9
FIT
1:1
100%

Артикул

Название

Примечание

Количество

1

REF

INSTRUCTION

VALVE - hydraulic, control, Parts list Figure 90

1шт.

2

218-5251

HYD CONNECTOR,7/8" - 14 ORB x 1/2" - 14 NPT

ADAPTER - male, special, Includes: Ref. 3

2шт.

3

237-6010

O-RING,0.097" Thk x 0.755" ID, -910, Cl 6, 90 Duro

SEAL - "O"ring

1шт.

4

218-927

ELBOW,90 Degree, 1/2" NPTF Male x 1/2" NPSM Fem Sw

ADAPTER - 90 degrees, swivel

2шт.

5

D25232

HOSE

- valve to side shift cylinder (216" long)

2шт.

6

13-524

BOLT,Hex, 5/16" - 18 x 1-1/2", Gr 5

- 5/16"-18 NC x 1-1/2"

2шт.

7

D39478

CLAMP - hose

1шт.

8

92-5

LOCK WASHER,5/16"

2шт.

9

9635082

NUT,5/16" - 18, Gr 5

- hex. (5/16" - 18 NC)

2шт.

10

D24277

PULLEY

- hose guide, Includes: Ref. 11 and 12

2шт.

11

92-6

LOCK WASHER,3/8"

1шт.

12

25-106

NUT,3/8"-16, G5

- hex. (3/8" - 16 NC)

1шт.

13

218-926

90 ELBOW,90 Degree, 3/8" NPTF Male x 3/8" NPSM Fem Sw

- 90 degrees, swivel (Hose from upper valve port to side shift cylinder rod end)

1шт.

14

218-5326

ELBOW,45 Degree, 3/4"-16 O-Ring x 3/8" NPSM Fem

- 45 degrees, swivel (Side shift cylinder rod end port), Includes: Ref. 15

1шт.

15

218-5006

O-RING,0.087" Thk x 0.644" ID, -908, Cl 6, 90 Duro

SEAL - "O"ring

1шт.

16

218-923

ELBOW,90 Degree, 1/2" NPTF Male x 3/8" NPSM Fem Sw

- 90 degrees, swivel (Hose from lower valve port to side shift cylinder closed end)

1шт.

17

218-5099

FITTING

CONNECTOR - straight male, Includes: Ref. 18

1шт.

18

218-5006

O-RING,0.087" Thk x 0.644" ID, -908, Cl 6, 90 Duro

SEAL - "O"ring

1шт.

19

D39464

CYLINDER ASSY.

CYLINDER - hydraulic, side shift (3" I.D. x 6" stroke), Parts list Figure 44, Includes: Ref. 20 and 21

1шт.

20

138-142

LOCK PIN,1/4" x 2", Slotted

PIN, 1/4" x 2", Slotted

1шт.

21

D36819

PIN,30.23mm OD x 111.25mm L

- cylinder mounting, closed end

1шт.

22

138-2040

PIN,1/4" x 1 1/2", Coiled

2шт.

23

D55443

PIN - cylinder mounting, rod end

1шт.

24

REF

INSTRUCTION

MAST ASSEMBLY - 6,000 lb. lift capacity, See Figures 18 and 20 for options

1шт.

25

D55442

PLATE - backing, upper, Includes: Ref. 26

1шт.

26

D41219

STRIP

PLATE - wear, brass (1/8" x 1/4" x 12")

5шт.

27

D55441

FRAME - side shifting, Includes: Ref. 28

1шт.

28

D41219

STRIP

PLATE - wear, brass (1/8" x 1/4" x 12")

3шт.

29

219-13

LUBE NIPPLE,3/16" NPTF

FITTING - straight, grease (3/16" drive)

3шт.

30

138-190

LOCK PIN,7/16" x 2", Slotted

PIN, 7/16" x 2", Slotted

2шт.

31

REF

INSTRUCTION

CHAIN - lift, rollerless, See Figures 18 and 20 for options

2шт.

32

O3997AB

LINK - connecting

2шт.

33

O3996AB

LINK - roller

2шт.

Выбрано товаров: 33