Запчасти Case 586 (08) - MAST AND RELATED PARTS (14-1/4 FOOT), 4000 LB. LIFT CAPACITY (83) - TELESCOPIC SINGLE ARM

Схема запчастей Case 586 - (08) - MAST AND RELATED PARTS (14-1/4 FOOT), 4000 LB. LIFT CAPACITY (83) - TELESCOPIC SINGLE ARM
39
2
1
28
27
42
38
20
25
5
26
18
22
21
19
8
23
40
10
23
35
29
41
37
27
21
12
17
30
43
31
32
7
3
15
16
13
8
33
36
11
9
6
4
14
34
24
FIT
1:1
100%

Артикул

Название

Примечание

Количество

D16087

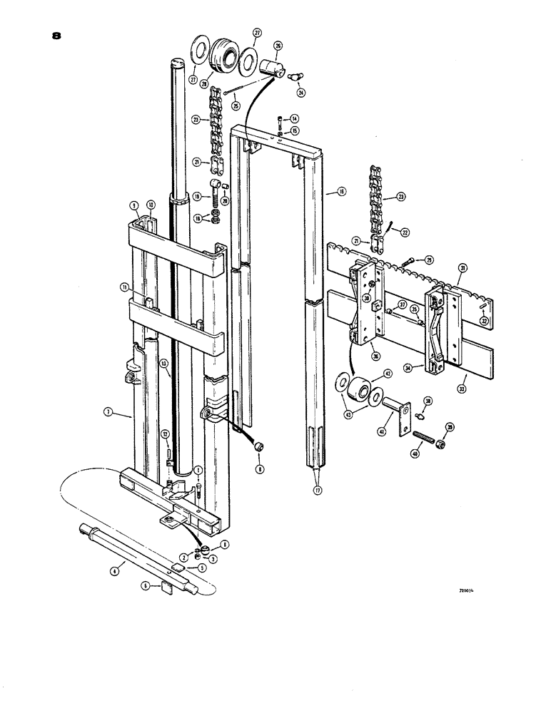
MAST - complete, 14-1/4' (4000 lb. lift capacity), Includes: Ref. 1 - 43

1шт.

1

13-872

BOLT,Hex, 1/2" - 13 x 4-1/2", Gr 5

1шт.

2

92-8

LOCK WASHER,1/2"

1шт.

3

25-108

NUT,1/2"-13, G5

- hex. (1/2" - 13 NC)

1шт.

4

D40842

BAR

- trunnion

1шт.

5

D40841

LARGE PLATE

BEARING - horizontal

4шт.

6

D40840

LARGE PLATE

BEARING - vertical

4шт.

7

D55391

CHANNEL - outer, Includes: Ref. 8 - 11

1шт.

8

D40843

BUSHING,25.4mm ID x 38.1mm OD x 24.38mm L

- pivotal ball type

3шт.

9

D32555

PAD

PLATE - wear, brass (1/8" x 1-1/4" x 5")

2шт.

10

D27366

WEAR PAD

PLATE - wear, brass (1/8" x 1-1/4" x 7")

4шт.

11

D47895

WEAR PAD

PLATE - wear, bronze (5/16" x 1/2" x 4-1/2")

2шт.

12

138-2007

PIN,1/4" x 1 1/4", Coiled

1шт.

13

60969

CYLINDER - hydraulic, lift (3-1/2" I.D. x 85-1/2" stroke) Parts list Figure 34

1шт.

14

165-166

HEX SOC SCREW,Prev Torque, 1/2" - 20 x 2"

SCREW - hex. socket head (1/2" - 20 NF x 2")

2шт.

15

92-8

LOCK WASHER,1/2"

2шт.

16

D47888

CHANNEL - inner, Includes: Ref. 17

1шт.

17

60972

STRIP

PLATE - wear, brass (1/8" x 1-1/4" x 11")

6шт.

18

25-118

NUT,1/2"-20, G5

- hex. (1/2" - 20 NF)

4шт.

19

60948

EYEBOLT,1/2" - 20 x 4 5/8"

BOLT - eye, chain anchor, Includes: Ref. 20

2шт.

20

D26196

BUSHING

- eye bolt

1шт.

21

D32583

LINK

- connecting, lift chain, Includes: Ref. 22

4шт.

22

132-25

COTTER PIN,3/32" x 5/8"

Pin, Split (Cotter), 3/32" x 5/8"

2шт.

23

D32586

CHAIN - lift, rollerless

2шт.

24

219-53

LUBE NIPPLE,65 Degree Elbow, 3/16" NPTF

FITTING - grease, 67-1/2 degree (3/16" drive)

2шт.

25

132-99

COTTER PIN,3/16" x 2"

Pin, Split (Cotter), 3/16" x 2"

2шт.

26

NLS

NO LONGER SERVICED

- guide wheel

2шт.

27

60944

THRUST WASHER

- thrust

4шт.

28

D32588

SPROCKET ASSY.

WHEEL - chain guide

2шт.

29

61-828

HEX SOC SCREW,1/2"-13 x 1 3/4"

SCREW - hex. socket head (1/2" - 13 NC x 1-3/4")

16шт.

30

25-148

JAM NUT,Jam, 1/2"-13, G5

- hex, jam (1/2"-13 NC)

16шт.

31

D47875

LARGE PLATE

PLATE - backing, upper

1шт.

32

138-2050

PIN,7/16" x 2", Coiled

2шт.

33

D47876

LARGE PLATE

PLATE - backing, lower

1шт.

34

D47901

SUPPORT ASSY.

CARRIAGE ASSEMBLY - R.H., Includes: Ref. 35

1шт.

Carriage must be aligned and drilled at time of installation.

1шт.

35

D26196

BUSHING

- chain anchor

1шт.

36

D47902

SUPPORT ASSY.

CARRIAGE ASSEMBLY - L.H., Includes: Ref. 37

1шт.

Carriage must be aligned and drilled at time of installation.

1шт.

37

D26196

BUSHING

- chain anchor

1шт.

38

219-13

LUBE NIPPLE,3/16" NPTF

FITTING - straight, grease (3/16" drive)

4шт.

39

25-148

JAM NUT,Jam, 1/2"-13, G5

- hex, jam (1/2"-13 NC)

4шт.

40

178-693

SET SCREW,Hex Soc, 1/2"-13 x 3"

SHSS - 1/2" - 13 NC x 3"

4шт.

41

D47899

AXLE

- load roller

4шт.

42

D47894

ROLLER BEARING,25.39mm ID x 63.5mm OD x 32.26mm W

ROLLER - load

4шт.

43

60917

THRUST WASHER

WASHER - thrust

8шт.

Выбрано товаров: 46