Запчасти Case 586 (14) - MAST AND RELATED PARTS (12 FOOT), 5000 LB. LIFT CAPACITY (83) - TELESCOPIC SINGLE ARM

Схема запчастей Case 586 - (14) - MAST AND RELATED PARTS (12 FOOT), 5000 LB. LIFT CAPACITY (83) - TELESCOPIC SINGLE ARM
33
16
17
38
40
36
25
19
21
34
18
27
1
16
8
13
6
26
14
30
12
22
35
9
39
15
24
23
22
28
5
4
37
29
32
11
3
10
2
20
33
7
FIT
1:1
100%

Артикул

Название

Примечание

Количество

D16069

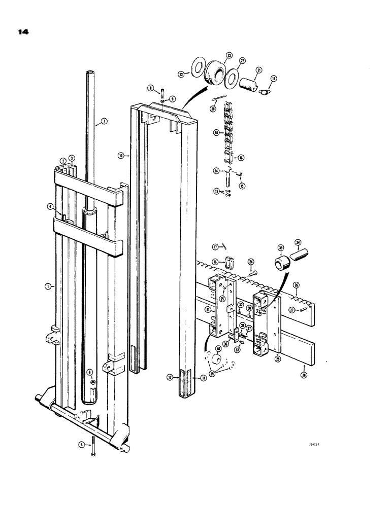
MAST - complete, 12' (5000 lb. lift capacity), Includes: Ref. 1 - 40

1шт.

1

D55413

CHANNEL - outer, Includes: Ref. 2 - 4

1шт.

2

D32555

PAD

PLATE - wear, brass (1/8" x 1-1/4" x 5")

2шт.

3

D27365

PAD

PLATE - wear, brass (3/16" x 1-1/4" x 10")

4шт.

4

D41505

WEAR PAD

PLATE - wear, brass (3/16" x 1/2" x 4-1/2")

2шт.

5

113-353

BOLT,Hex, 7/16" - 14 x 6", Gr 5

7/16"-14 x 6", G5

1шт.

6

231-1447

NUT,7/16"-14, GB

NUT, LOCK, 7/16"-14, GB

1шт.

7

D36571

CYLINDER - hydraulic, lift (3-1/2" I.D. x 72" stroke), Parts list Figure 32

1шт.

8

165-166

HEX SOC SCREW,Prev Torque, 1/2" - 20 x 2"

SCREW - hex. socket head (1/2" - 20 NF x 2")

2шт.

9

92-8

LOCK WASHER,1/2"

2шт.

10

D39480

CHANNEL

- inner, Includes: Ref. 11 and 12

1шт.

part number is correct, catalog index error

1шт.

11

60972

STRIP

PLATE - wear, brass (1/8" x 1-1/4" x 11")

2шт.

12

D36586

PLATE

- wear, brass (3/16" x 1-1/4" x 11")

4шт.

13

25-1116

NUT,1"-14, G5

- hex. (1" - 14 NF)

4шт.

14

D36575

EYEBOLT

BOLT - eye, chain anchor, Includes: Ref. 15

2шт.

15

D39476

BUSHING

- eye bolt

1шт.

16

D36579

LINK

- connecting, lift chain, Includes: Ref. 17

4шт.

17

132-45

COTTER PIN,1/8" x 5/8"

Pin, Split (Cotter), 1/8" x 5/8"

2шт.

18

D39483

CHAIN (AG)

CHAIN - lift, rollerless

2шт.

19

219-53

LUBE NIPPLE,65 Degree Elbow, 3/16" NPTF

FITTING - grease, 67-1/2" (3/16 drive)

2шт.

20

132-102

COTTER PIN,3/16" x 2 1/2"

Pin, Split (Cotter), 3/16" x 2 1/2"

2шт.

21

D36584

PIN

- guide wheel

2шт.

22

F36582

WASHER - thrust

4шт.

23

D39482

SUPPORT,1.75" ID x 4.3" OD x 1.51"

WHEEL - chain guide

2шт.

24

61-828

HEX SOC SCREW,1/2"-13 x 1 3/4"

SCREW - hex. socket head (1/2" - 13 NC x 1-3/4")

16шт.

25

25-148

JAM NUT,Jam, 1/2"-13, G5

- hex, jam (1/2"-13 NC)

16шт.

26

D36580

LARGE PLATE

PLATE - backing, upper (See Figure 26 for backing plate used with sideshift)

1шт.

27

138-190

LOCK PIN,7/16" x 2", Slotted

PIN, 7/16" x 2", Slotted

2шт.

28

D36581

LARGE PLATE

PLATE - backing, lower (See Figure 26 for backing plate used with sideshift)

1шт.

29

D52321

SUPPORT ASSY.

CARRIAGE - R.H., Includes: Ref. 30

1шт.

D52321 and D52322 carriage per print the 8, 1/2-13 mounting holes must be drilled and tapped at assembly

1шт.

Carriage must be aligned and drilled at time of installation.

1шт.

30

D39476

BUSHING

- carriage

1шт.

31

D52322

SUPPORT ASSY.

CARRIAGE - L.H., Includes: Ref. 32

1шт.

D52321 and D52322 carriage per print the 8, 1/2-13 mounting holes must be drilled and tapped at assembly

1шт.

Carriage must be aligned and drilled at time of installation.

1шт.

32

D39476

BUSHING

- carriage

1шт.

33

219-13

LUBE NIPPLE,3/16" NPTF

FITTING - straight, grease (3/16" drive)

4шт.

34

D36589

PIN,25.4mm OD x 69.85mm L

- side roller

4шт.

35

D36590

ROLLER

- side

4шт.

36

D52297

AXLE

- load roller

4шт.

37

13-816

BOLT,Hex, 1/2" - 13 x 1", Gr 5, Full Thd

4шт.

38

92-8

LOCK WASHER,1/2"

4шт.

39

D52298

WASHER,32.16mm ID x 69.85mm OD x 2.77mm Thk

- thrust

12шт.

40

D52299

BEARING, ROLLER,31.75mm ID x 76.2mm OD x 32mm W

ROLLER - load

4шт.

Выбрано товаров: 46