Запчасти Case 584D (056) - INJECTION NOZZLE, 188 DIESEL ENGINE (10) - ENGINE

Схема запчастей Case 584D - (056) - INJECTION NOZZLE, 188 DIESEL ENGINE (10) - ENGINE
8
9
5
3
11
10
6
7
4
12
2
1
FIT
1:1
100%

Артикул

Название

Примечание

Количество

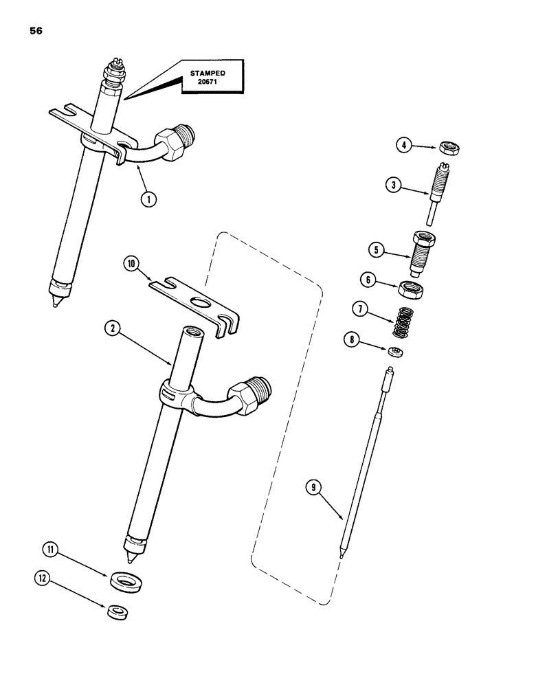
1

AR140829

REMAN-INJECT NOZZLE

NOZZLE ASSEMBLY - injector (Remanufactured), Includes: Ref. 2 - 12

1шт.

1

AC140829

CORE-NOZZLE, INJECT

RETURN NUMBER - injector (Use this number when returning nozzle for credit), Includes: Ref. 2 - 12

1шт.

1

A140829

NOZZLE INJECTION

NOZZLE ASSEMBLY - injector (New) (No. 20671 stamped on body) (Color code white), Includes: Ref. 2 - 12

4шт.

WHEN A NOZZLE IS REMOVED FROM THE HEAD, WASHER A41403 AND SEAL A41402 MUST BE REPLACED BEFORE THE NOZZLE IS INSTALLED BACK INTO THE HEAD.

1шт.

A140829R

REMAN-INJECT NOZZLE

584D, 585D, 586D

4шт.

A140829C

CORE-NOZZLE, INJECT

Return Number

1шт.

2

NSS

NOT SOLD SEPARAT

BODY - nozzle

1шт.

3

A43599

ADJUSTMENT SCREW,#10 - 56 x 1.39"

SCREW - lift adjusting

1шт.

4

A43602

NUT

- lock, lift adjusting screw

1шт.

5

A43600

ADJUSTMENT SCREW,#10 - 56 x 0.68"

SCREW - pressure adjusting

1шт.

6

A42424

LOCK NUT

- lock, pressure adjusting screw

1шт.

7

A43733

SPRING

- pressure adjusting, 9/16 inch free length (14 mm)

1шт.

8

A44369

SEAT

- pressure adjusting spring

1шт.

9

NSS

NOT SOLD SEPARAT

VALVE - nozzle

1шт.

10

A43506

PLATE ASSY.

PLATE - nozzle holder

1шт.

11

A41403

WASHER,9.55mm ID x 14.18mm OD x 3.38mm Thk

- nozzle body

1шт.

12

A41402

SEAL,7.89mm ID x 9.74mm OD x 2.87mm Thk

- carbon stop

1шт.

Выбрано товаров: 17