Запчасти Case 585D (040) - PISTONS, 188 DIESEL ENGINE, CONNECTING RODS (10) - ENGINE

Схема запчастей Case 585D - (040) - PISTONS, 188 DIESEL ENGINE, CONNECTING RODS (10) - ENGINE
16
6
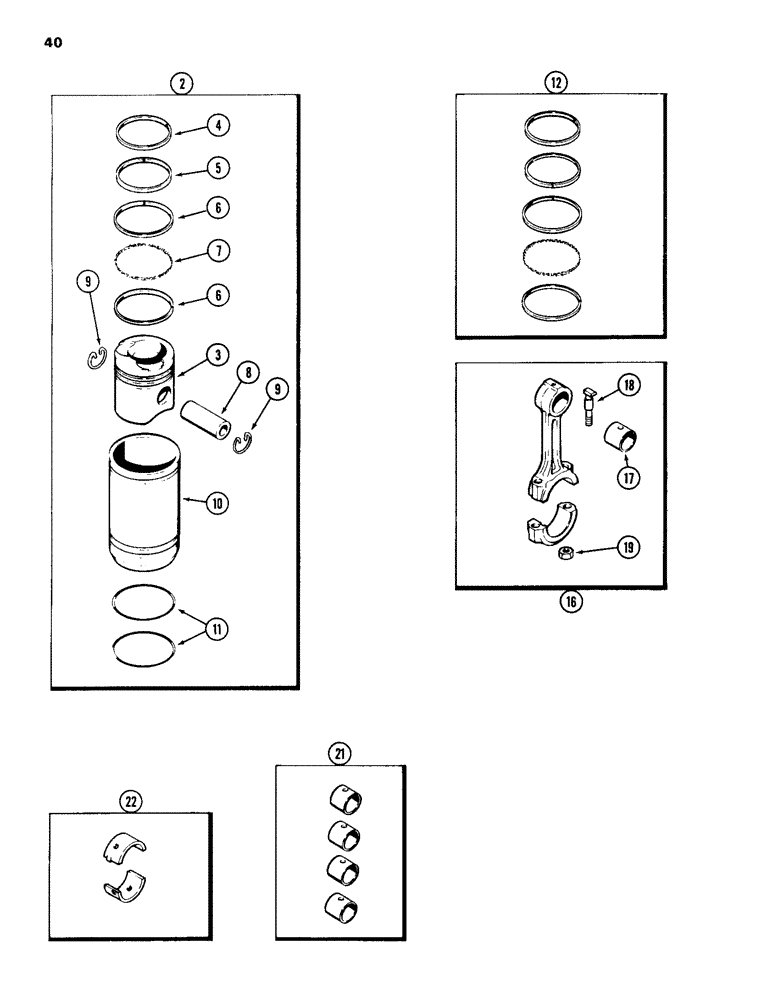
3
11
7
2
21
5
17
10
18
19
9
9
22
6
4
12
8
FIT
1:1
100%

Артикул

Название

Примечание

Количество

2

A151995

SLEEVE ASSY

PISTON KIT - engine (Set of 1), Includes: Ref. 3 - 11

4шт.

3

A38424

PISTON

- engine

1шт.

4

A51189

RING

- compression, top groove (See Ref. 12)

1шт.

5

G4817

RING

- compression, second groove (See Ref. 12)

1шт.

6

G47155

RAIL

- oil control, third groove (See Ref. 12)

2шт.

7

G47174

SPRING

SPACER - oil control rail (See Ref. 12)

1шт.

8

A35770

PISTON PIN,31.75mm OD x 80.44mm L

PIN - piston

1шт.

9

G46702

RING, LOCKING

RING - piston pin retaining

2шт.

10

A39006

SLEEVE

- piston

1шт.

11

G46888

O-RING,3.737" ID x 3.943" OD

- sleeve packing

2шт.

12

A151857

PISTON RING SET

RING KIT - single piston re-ring (Set of 1) (Includes Ref. 4 - 7)

4шт.

16

A182011

ROD

ASSEMBLY - connecting (Includes Ref. 17 - 19) (yellow color code) 1205 to 1229 grams (33 to 43 ounces), connecting rods

1шт.

16

A182012

ROD, CONNECTING

ROD ASSEMBLY - connecting (Includes Ref. 17 - 19) (red color code) 1229 to 1253 grams (43 to 44 ounces), connecting rods

1шт.

16

A182013

ROD, CONNECTING

ROD ASSEMBLY - connecting (Includes Ref. 17 - 19) (blue color code) 1253 to 1277 grams (44 to 45 ounces), connecting rods, connecting rods

1шт.

A182014

ROD, CONNECTING

ROD ASSEMBLY KIT - connecting (Set of 4 with no color code) within 1/4 ounce (7.08 grams) of each other, connecting rods, Includes: Ref. 16 - 19

1шт.

16

A136931

ROD, CONNECTING

ROD ASSEMBLY - connecting, connecting rods, Includes: Ref. 17 - 19

4шт.

17

NSS

NOT SOLD SEPARAT

BUSHING - piston pin (Order Ref. 21) (Reference No. A136712), connecting rods

1шт.

18

G49064

STEP BOLT

BOLT - connecting rod bearing cap, connecting rods

2шт.

19

A51904

NUT

NUT - bearing cap bolt, connecting rods

2шт.

21

A44083

KIT

BUSHING SET - piston pin (Set of 4), connecting rods

1шт.

22

A46050

BEARING LINER,53.66mm ID x 56.82mm OD x 26.67mm W

INSERT KIT - connecting rod bearing, (Standard) (2 in kit), connecting rods

4шт.

22

A46051

BEARING LINER

INSERT KIT - connecting rod bearing, 0.002 inch undersize, (0.06 mm) (2 in kit), connecting rods

4шт.

22

A46052

BEARING LINER,53.4mm ID x 56.82mm OD x 26.67mm W

INSERT KIT - connecting rod bearing, 0.010 inch undersize, (0.26 mm) (2 in kit), connecting rods

4шт.

22

A46053

BEARING LINER,53.15mm ID x 56.82mm OD x 26.67mm W

INSERT KIT - connecting rod bearing, 0.020 inch undersize, (0.50 mm) (2 in kit), connecting rods

4шт.

22

A46054

BEARING LINER

INSERT KIT - connecting rod bearing, 0.030 inch undersize, (0.76 mm) (2 in kit), connecting rods

4шт.

Выбрано товаров: 25