Запчасти Case 586D (034) - CYLINDER BLOCK, 188 DIESEL ENGINE, BLOCK HEATER (10) - ENGINE

Схема запчастей Case 586D - (034) - CYLINDER BLOCK, 188 DIESEL ENGINE, BLOCK HEATER (10) - ENGINE
3
7
38
1
9
10
26
4
33
17
8
21
19
15
34
12
13
31
16
20
39
25
11
15
17
24
2
30
22
32
18
14
6
23
FIT
1:1
100%

Артикул

Название

Примечание

Количество

A46352

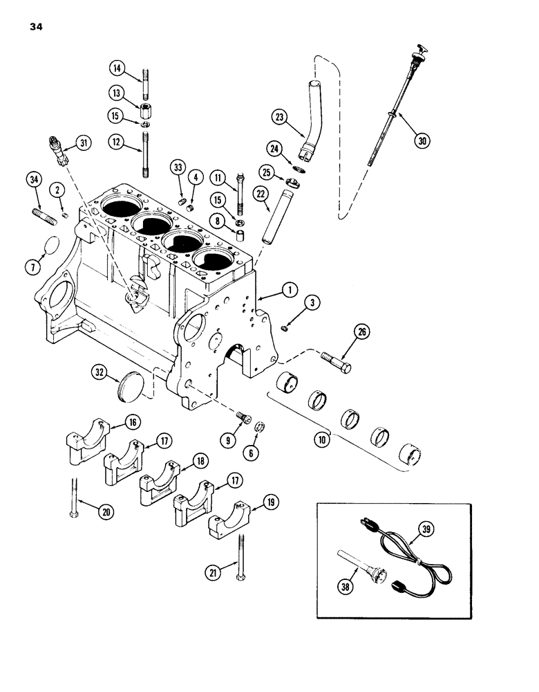
CRANKCASE

BLOCK ASSEMBLY - short (includes stripped block, crankshaft and bearings, connecting rods and bearings, piston assembly, camshaft, oil pump and timing gears), Includes: Ref. 1 - 34

1шт.

1

AR46351

ENGINE, EXCHANGE

BLOCK ASSEMBLY - stripped (Remanufactured), Includes: Ref. 1 - 34

1шт.

1

AC46351

CORE-ENGINE

RETURN NUMBER - block (Use this number when returning block for credit), Includes: Ref. 1 - 34

1шт.

1

A46351

BASIC BLOCK

BLOCK ASSEMBLY - stripped (New) (Casting No. A152625), Includes: Ref. 2 - 26

1шт.

2

217-433

PLUG,Hex Soc, 1/4" - 18 NPTF

3шт.

3

G49070

PLUG

- drilled, front oil gallery

1шт.

4

221-1032

DRAIN PLUG,Sq Soc, 3/8"-18 NPTF

PLUG - socket head, 3/8 inch PT

1шт.

6

41-1016

PLUG,Cup, 1"

- cup type, 1 inch (25 mm)

1шт.

7

41-1030

PLUG,Cup, 1 7/8"

- expansion, 1-7/8 inch (47 mm)

1шт.

8

G49608

RING

- dowel, head locating

2шт.

9

A153552

ADAPTER

- oil filter

1шт.

10

REF

INSTRUCTION

BUSHING SET - camshaft (Order components, See Figure 37)

1шт.

11

A39047

12 PT SCREW

BOLT - 12 point head, cylinder head, 3-1/2 inch

4шт.

11

A39048

12 PT SCREW

BOLT - 12 point head, cylinder head, 5-1/8 inch

11шт.

11

A39049

12 PT SCREW

BOLT - 12 point head, cylinder head, 5-5/8 inch

2шт.

12

A36902

STUD

- cylinder head, lower 5-5/8 inch

2шт.

13

A51114

NUT

- head studs

2шт.

14

A51271

STUD

- cylinder head cover, 3-3/4 inch

2шт.

15

A39046

WASHER,13.11mm ID x 22.23mm OD x 3.34mm Thk

- head stud

19шт.

16

A38385

CAP

- main bearing, rear

1шт.

17

G2128

CAP

- main bearing, intermediate

2шт.

18

G2127

CAP

- main bearing, center

1шт.

19

G2126

CAP

- main bearing, front

1шт.

20

26-872

BOLT,Hex, 1/2" - 13 x 4-1/2", Gr 8

- hex, 1/2 NC x 4-1/2 inch

8шт.

21

26-882

BOLT,Hex, 1/2" - 13 x 5-1/8", Gr 8

- hex, 1/2 NC x 5-1/8 inch

2шт.

22

A37149

TUBE

- oil filler and dipstick

1шт.

23

A37407

TUBE

EXTENSION - oil filler tube

1шт.

24

A27342

O-RING,1.109" ID x 1.387" OD x 0.139"

- tube

1шт.

25

214-256

HOSE CLAMP,#20, 0.81" - 1.75", Type F Worm

CLAMP - tube

1шт.

26

A38303

BOLT

BOLT - hex, front support

1шт.

30

A39936

DIPSTICK

- engine oil level

1шт.

31

A137572

DRIVE

ASSEMBLY - tachometer

1шт.

32

41-1052

PLUG,Cup, 3 1/4"

COVER - cup type, auxiliary drive opening, 3-1/2 inch, should 3 1/4"

1шт.

33

221-841

PLUG

- hex socket head, 1/4 inch PT

1шт.

34

A51793

STUD

- engine to torque tube, 3-3/16 inch

2шт.

38

A44815

HEATER

ASSEMBLY - cylinder block, block heater, Includes: Ref. 39

1шт.

39

A44814

ELECTRIC CABLE

CORD ASSEMBLY - heater, (12 inch long), block heater

1шт.

Выбрано товаров: 37