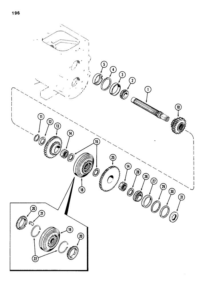
Запчасти Case 586D (196) - TRANSAXLE MAINSHAFT, PRIOR TO TRANSMISSION SERIAL NO. 16249203, 2 AND 4WD (21) - TRANSMISSION

Схема запчастей Case 586D - (196) - TRANSAXLE MAINSHAFT, PRIOR TO TRANSMISSION SERIAL NO. 16249203, 2 AND 4WD (21) - TRANSMISSION
31
4
30
26
15
11
5
10
19
25
27
22
14
21
1
20
2
28
29
14
12
20
3
13
18
FIT
1:1
100%

Артикул

Название

Примечание

Количество

1

A148508

SHAFT

MAINSHAFT - transaxle

1шт.

2

T20939

ROLLER BEARING,1.25" ID x 0.771"

CONE - bearing, front, 1-1/4 inch ID (32 mm)

1шт.

3

A29977

BEARING CUP

CUP - bearing, front, 2-3/4 inch OD (70 mm)

1шт.

4

A29971

RING

- snap, front bearing retaining

1шт.

5

G10616

CUP

- oiling, mainshaft, front

1шт.

10

A168172

GEAR

- sliding, first and second (16 and 25 external and internal teeth) (Replaces A51957)

1шт.

11

A26946

RING

- snap, thrust washer and gear retaining

1шт.

12

A140239

COLLAR,24T

COLLAR - thrust, third and fourth gears (24 internal teeth) 3/16 and 1/8 inch step dimenison (5 and 3 mm)

1шт.

13

A136597

GEAR

- sliding, third (27 and 35 external teeth)

1шт.

14

A51956

SYNCHRONIZER,24T

- third and fourth gears (24 internal teeth)

2шт.

15

A138572

WASHER

- thrust, third and fourth gears 1/8 inch thickness with 24 internal teeth (3 mm)

2шт.

18

A138655

GEAR

SYNCHRONIZER ASSEMBLY - mainshaft, Includes: Ref. 19 - 22

1шт.

19

NSS

NOT SOLD SEPARAT

HUB AND SLEEVE ASSEMBLY - (Reference No. A45407)

1шт.

20

A45568

SPECIAL RING

RING - blocking (Replaces A42252)

2шт.

21

G46078

PLATE

- shifter

3шт.

22

A40766

SPRING

- lock ring

2шт.

25

A148194

GEAR

- sliding, fourth (27 and 44 external teeth)

1шт.

26

G10424

CONE

- bearing, rear, 1-9/16 inch ID (40 mm)

1шт.

27

G10425

CUP

- bearing, rear, 2-7/8 inch OD (73 mm)

1шт.

28

A136386

COLLAR

- thrust, rear bearing 3/16 inch thickness (5 mm) with 24 internal teeth

1шт.

29

A51527

SHIM,.035" Thk

Rear bearing (0.89 mm) .035" Thk

1шт.

29

G10341

SHIM,.005" Thk

Rear bearing (0.13 mm) .005" Thk

1шт.

29

G10340

SHIM,.007" Thk

(0.18 mm), Rear bearing .007" Thk

1шт.

30

A39184

COLLAR

- pilot, rear cover

1шт.

31

G10422

OIL SEAL

- oil, rear (Order A155950)

1шт.

Выбрано товаров: 25